Curiosii for ever!: Car repair manuals for everyone.

All Door Entry Lock / Unlock Functions and Wireless Functions Do Not Operate

All Door Entry Lock / Unlock Functions and Wireless Functions do not Operate

DESCRIPTION
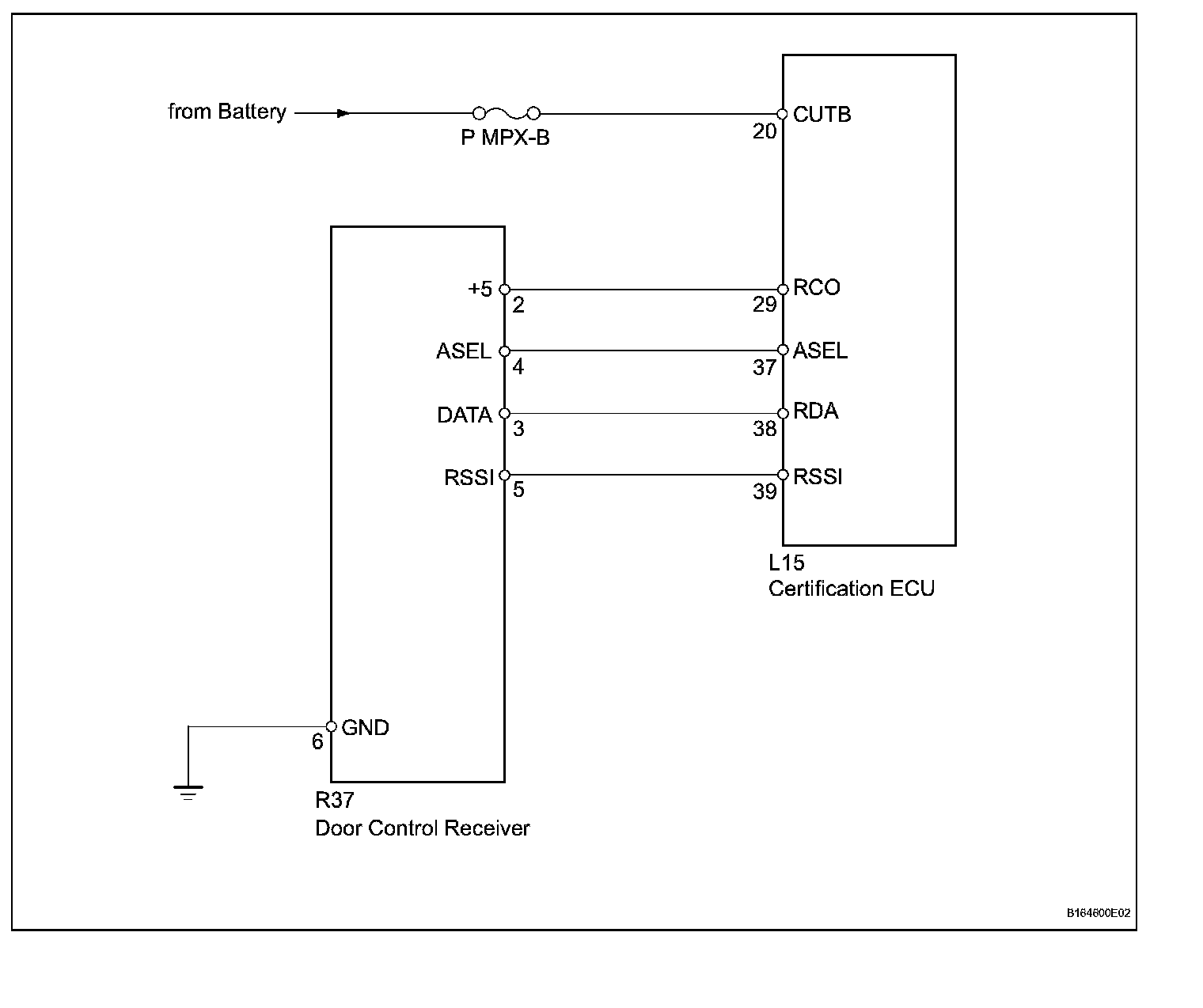
When the entry operation and wireless operation door lock function does not operate, a malfunction or wave interference may be occurring in either of the following: 1) signal communication line between the door control receiver and certification ECU (line is used by entry and wireless); or 2) electrical key transmitter.

Wiring Diagram:






Step 1-3:




Step 4-5:




Step 6-7:




Step 7 (Continued)-8:




INSPECTION PROCEDURE