Curiosii for ever!: Car repair manuals for everyone.

Front Wheel Alignment

FRONT WHEEL ALIGNMENT

ADJUSTMENT
1. INSPECT TIRES
(a) Inspect the tires.





2. MEASURE VEHICLE HEIGHT
(a) Bounce the vehicle at the corners up and down to stabilize the suspension and inspect vehicle height.

Standard vehicle height:





Measuring points:
A:
Ground clearance of front wheel center
B:
Ground clearance of front center position of front suspension lower arm assembly front bush installation
C:
Ground clearance of rear center position of rear suspension No. 2 arm bush installation bolt screw thread

NOTICE:
Before inspecting the wheel alignment, adjust the vehicle height to the specified value.

HINT:
Bounce the vehicle up and down at the corners to stabilize the suspension and inspect the vehicle height.





3. INSPECT TOE-IN
(a) Bounce the vehicle up and down at the corners to stabilize the suspension and inspect toe-in.

Toe-in:





HINT:
If toe-in is not within the specified range, adjust it at the rack ends.

4. ADJUST TOE-IN
(a) Measure the thread lengths of the right and left rack ends.
Standard:
Difference in thread length of 1.5 mm (0.059 in.) or less
(b) Remove the rack boot set clips.
(c) Loosen the tie rod end lock nuts.
(d) Adjust the rack ends if the difference in thread length between the right and left rack ends is not within the specified range.
(1) Extend the shorter rack end if the measured toe-in deviates toward the outer-side.
(2) Shorten the longer rack end if the measured toe-in deviates toward the inner-side.
(e) Turn the right and left rack ends by an equal amount to adjust toe-in.

HINT:
Try to adjust toe-in to the center of the specified range.





(f) Make sure that the lengths of the right and left rack ends are the same.
(g) Torque the tie rod end lock nuts.
Torque: 56 N*m (571 kgf*cm, 41 ft.*lbf)

NOTICE:
Temporarily tighten the lock nut while holding the hexagonal part of the steering rack end so that the lock nut and the steering rack end do not turn together. Hold the width across flat of the tie rod end and tighten the lock nut.

(h) Perform the VGRS system calibration.
(i) Place the boots on the seats and install the clips.

HINT:
Make sure that the boots are not twisted.





5. INSPECT WHEEL ANGLE
(a) Turn the steering wheel fully to the left and right and measure the turning angle.

Standard wheel turning angle:





If the right and left inside wheel angles differ from the specified range, check the right and left rack end lengths.





6. INSPECT CAMBER, CASTER AND STEERING AXIS INCLINATION
(a) Put the front wheels on the center of the alignment tester.
(b) Remove the center ornament.
(c) Install the camber-caster-steering axis inclination gauge at the center of the axle hub or drive shaft.
(d) Inspect the camber, caster and steering axis inclination.
Standard camber inclination: -0°26' ± 45' (-0.43° ± 0.75°)
Right-left error: 30' (0.5°) or less
Standard caster inclination: 7°26' ± 45' (7.43° ± 0.75°)
Right-left error: 30' (0.5°) or less
Standard steering axis inclination: 9°26' ± 45' (9.43° ± 0.75°)
Right-left error: 30' (0.5°) or less

NOTICE:
^ Inspect while the vehicle is empty.
^ The maximum tolerance of right and left difference for the camber and caster is 30' or less.

(e) Remove the camber-caster-steering axis inclination gauge and attachment.
(f) Install the center ornament.
If the caster and steering axis inclination are not within the specified values, after the camber has been correctly adjusted, recheck the suspension parts for damaged and/or worn out parts.





7. INSPECT FRONT SUSPENSION
(a) Inspect the front suspension member.
(1) Measure the dimension between the center of the installation bolts of the front lower suspension arm.
Standard length: 692.5 to 699.5 mm (27.264 to 27.539 in.)
If the result is not within the specification, replace the front suspension member.





(b) Inspect the front lower suspension arm.
(1) Remove the front lower suspension arm.
(2) Measure the dimension between the center of the front lower suspension arm bush and position A.
Standard length: 362 mm (14.25 in.)

HINT:
If the dimension of the front lower suspension arm changes 2 mm (0.079 in.), the camber will change approximately 15' (0.25°).





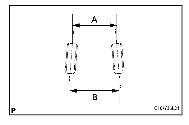
(c) Inspect the front upper suspension arm.
(1) Remove the front upper suspension arm.
(2) Measure the dimension between the center of the front upper suspension arm bush and the ball joint stud.
Standard length:
A: 250 mm (9.84 in.)
B: 231 mm (9.09 in.)

HINT:
If the dimension of the front upper suspension arm changes 2 mm (0.079 in.), the camber will change approximately 15' (0.25°).

8. ADJUST CASTER
(a) Based on the caster inspection values, select a lower No. 2 arm bracket.

Part No. Information: