Curiosii for ever!: Car repair manuals for everyone.

Overhaul

DISASSEMBLY

1. REMOVE GENERATOR REAR END COVER




a. Remove the 3 nuts and end cover.




b. Remove the terminal insulator.

2. REMOVE GENERATOR BRUSH HOLDER ASSEMBLY




a. Remove the 2 screws and brush holder.

3. REMOVE GENERATOR PULLEY




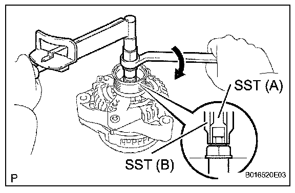
a. Hold SST (A) with a torque wrench and tighten SST (B) clockwise to the specified torque.

SST 09820-63011

Torque: 39 N.m (400 kgf.cm, 29 ft.lbf)

b. Check that SST (A) is secured to the rotor shaft.




c. Mount SST (C) in a vise.
d. Insert SST (B) into SST (C), and attach the pulley nut to SST (C).




e. To loosen the pulley nut, turn SST (A) in the direction given in the illustration.

NOTE: To prevent damage to the rotor shaft, do not loosen the pulley nut more than one-half of a turn.

f. Remove the generator from SST (C).




g. Turn SST (B) and remove SST (A and B).
h. Remove the pulley nut and pulley.

4. REMOVE GENERATOR COIL ASSEMBLY




a. Remove the 4 bolts.




b. Using SST, remove the coil.

SST 09950-40011 (09951-04020, 09952-04010,
09953-04020, 09954-04010, 09955-04071,
09958-04011, 09957-04010)

5. REMOVE GENERATOR ROTOR ASSEMBLY




a. Remove the generator washer.




b. Remove the rotor from the frame.

REASSEMBLY

1. INSTALL GENERATOR ROTOR ASSEMBLY




a. Place the drive end frame on the pulley.
b. Install the rotor to the drive end frame.

2. INSTALL GENERATOR COIL ASSEMBLY




a. Install the generator washer on the rotor.




b. Using a SST and press, slowly press in the coil.

SST 09285-76010




c. Install the coil with the 4 bolts.

Torque: 5.8 N.m (59 kgf.cm, 51 in.lbf)

3. INSTALL GENERATOR PULLEY




a. Install the pulley to the rotor shaft with the pulley nut by hand.
b. Hold SST (A) with a torque wrench, and tighten SST (B) clockwise to the specified torque.

SST 09820-63010

Torque: 39 N.m (400 kgf.cm, 29 ft.lbf)

c. Check that SST (A) is secured to the pulley shaft.




d. Mount SST (C) in a vise.
e. Insert SST (B) into SST (C), and attach the pulley nut to SST (C).




f. To tighten the pulley nut, turn SST (A) in the direction given in the illustration.

Torque: 133 N.m (1356 kgf.cm, 98 ft.lbf)

g. Remove the generator from SST (C).




h. Turn SST (B) and remove SST (A and B).

4. INSTALL GENERATOR BRUSH HOLDER ASSEMBLY




a. While pushing the 2 brushes toward the inside of the brush holder, insert a pin (Dia 1.0 mm (0.039 in.)) into the brush holder hole.




b. Install the generator brush holder with the 2 screws.

Torque: 1.8 N.m (18 kgf.cm, 16 in.lbf)

c. Pull out the pun from the generator brush holder.

5. INSTALL GENERATOR REAR END COVER




a. Install the terminal insulator.

NOTE: Pay attention the mounting orientation of the terminal insulator.




b. Install the terminal insulator.
c. Install the end cover with the 3 nuts.

Torque: 4.6 N.m (47 kgf.cm, 41 in.lbf)

6. CHECK THAT ROTOR ROTATES SMOOTHLY