Curiosii for ever!: Car repair manuals for everyone.

CAN Communication System

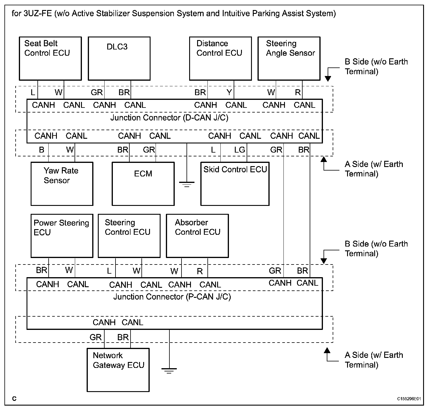
Terminals Of Control Module/Pinouts - Junction Connector (Part 1):



Terminals Of Control Module/Pinouts - Junction Connector (Part 2):



Terminals Of Control Module/Pinouts - Junction Connector (Part 3):



Terminals Of Control Module/Pinouts - Junction Connector (Part 4):



Terminals Of Control Module/Pinouts - Junction Connector (Part 5):



Terminals Of Control Module/Pinouts - Junction Connector (Part 6):



Terminals Of Control Module/Pinouts - Junction Connector (Part 7):



Terminals Of Control Module/Pinouts - DLC3:



Terminals Of Control Module/Pinouts - Skid Control ECU:



Terminals Of Control Module/Pinouts - Skid Control ECU With Actuator:



Terminals Of Control Module/Pinouts - Steering Angle Sensor:



Terminals Of Control Module/Pinouts - Yaw Rate Sensor:



Terminals Of Control Module/Pinouts - Distance Control ECU:



Terminals Of Control Module/Pinouts - ECM:



Terminals Of Control Module/Pinouts - Seat Belt Control ECU:



Terminals Of Control Module/Pinouts - Power Steering ECU:



Terminals Of Control Module/Pinouts - Steering Control ECU:



Terminals Of Control Module/Pinouts - Clearance Warning ECU:



Terminals Of Control Module/Pinouts - Network Gateway ECU:



Terminals Of Control Module/Pinouts - Absorber Control ECU:



Terminals Of Control Module/Pinouts - 4WD ECU:



Terminals Of Control Module/Pinouts - Gateway Can ECU:



Terminals Of Control Module/Pinouts - Front Active Stabilizer Control ECU:



Terminals Of Control Module/Pinouts - Rear Active Stabilizer Control ECU: