Curiosii for ever!: Car repair manuals for everyone.

Fuse Block

Engine Room R/B No.1, J/B No.1 - Near The Battery:



Engine Room R/B No.2, J/B No.2 - Engine Compartment Left:



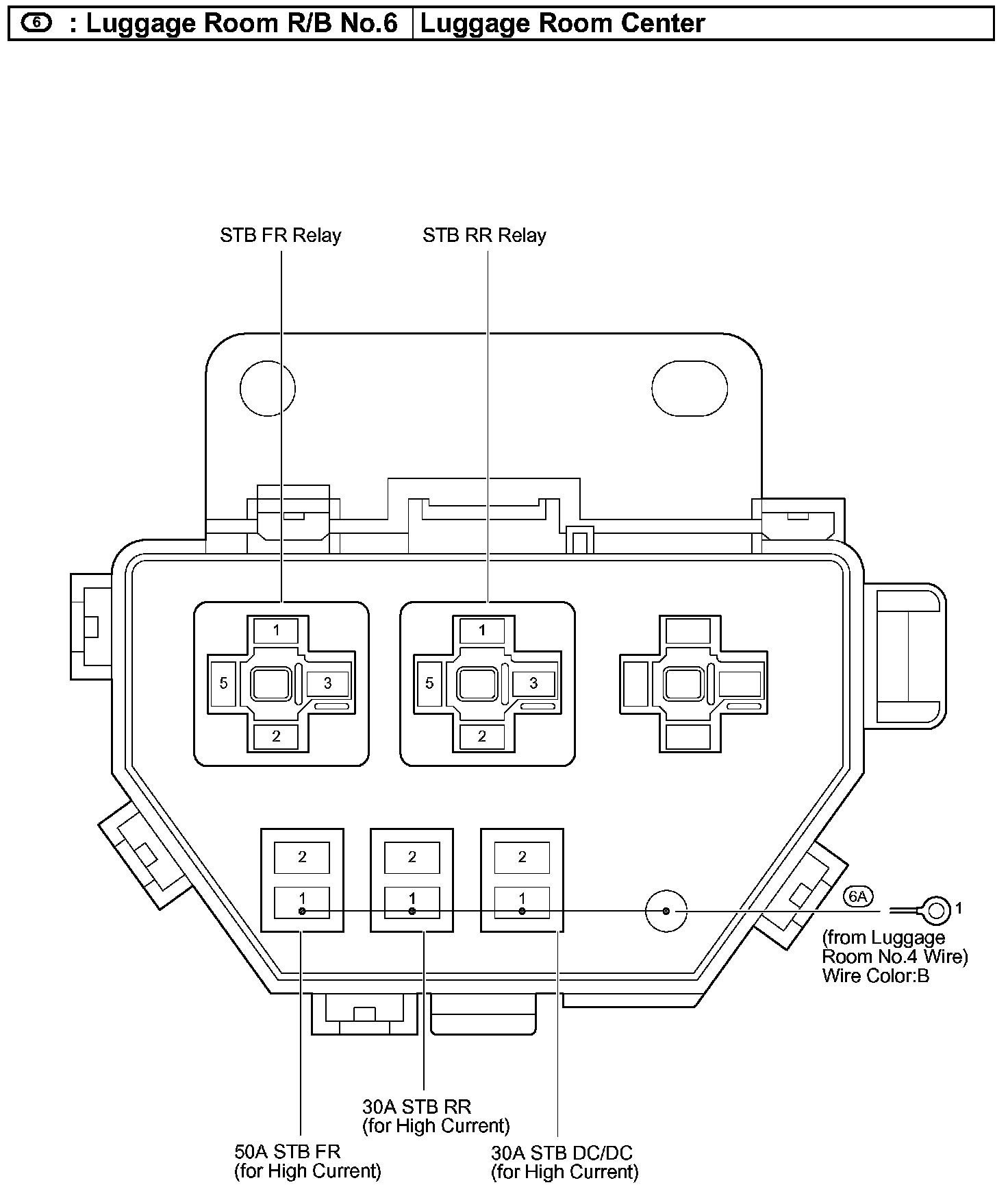
Luggage Room R/B No.6 - Luggage Room Center:



Fusible Link Block - Luggage Room Center:



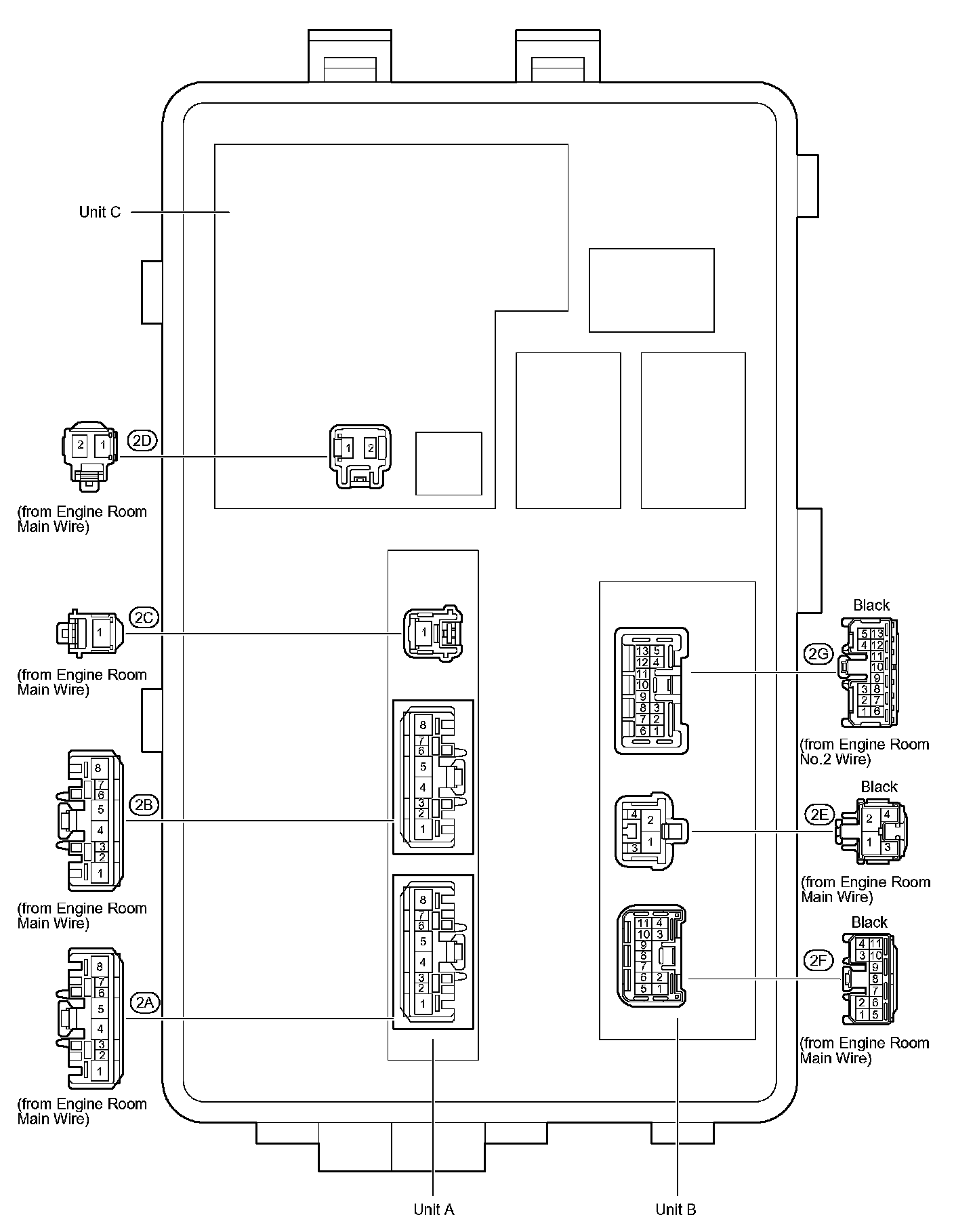
Cowl Side J/B LH - Cowl Side Left:



Cowl Side J/B LH - Cowl Side Left:



Cowl Side J/B LH - Cowl Side Left:



Cowl Side J/B RH - Cowl Side Right:



Cowl Side J/B RH - Cowl Side Right:



Cowl Side J/B RH - Cowl Side Right:



Center J/B LH - Upper The Glove Box:



Center J/B RH - Upper The Glove Box:



Luggage Room J/B - Luggage Room Left:



Luggage Room J/B - Luggage Room Left:



Luggage Room J/B - Luggage Room Left:



Junction Connector (CAN LH) - Left Kick Panel:



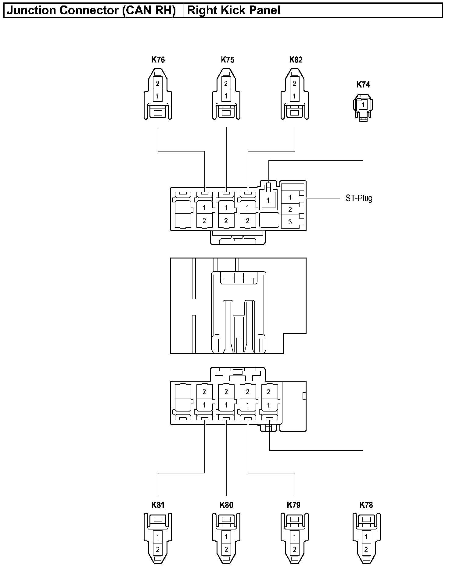
Junction Connector (CAN RH) - Right Kick Panel:



Junction Connector (CAN Center) - Right Of The Instrument Panel Reinforcement:



Junction Connector (CAN Luggage) - Luggage Room Left: