Curiosii for ever!: Car repair manuals for everyone.

Navigation Module: Service and Repair

Navigation ECU:




NAVIGATION ECU

REMOVAL

1. DISCONNECT CABLE FROM NEGATIVE BATTERY TERMINAL

CAUTION: Wait at least 90 seconds after disconnecting the cable from the negative (-) battery terminal to prevent airbag and seat belt pretensioner activation.

2. REMOVE FRONT CONSOLE UPPER PANEL GARNISH
3. REMOVE CONSOLE UPPER PANEL ASSEMBLY
4. REMOVE INSTRUMENT PANEL FINISH PANEL END RH
5. REMOVE FRONT DOOR SCUFF PLATE RH
6. REMOVE FRONT DOOR OPENING TRIM COVER RH
7. REMOVE INSTRUMENT SIDE PANEL RH
8. REMOVE NO. 2 INSTRUMENT PANEL UNDER COVER SUB-ASSEMBLY
9. REMOVE FRONT PASSENGER SIDE KNEE AIRBAG ASSEMBLY
10. REMOVE GLOVE COMPARTMENT DOOR SUBASSEMBLY




11. REMOVE NAVIGATION ECU WITH DISC PLAYER BRACKET
a. Disconnect the connectors.
b. Remove the 3 bolts and navigation ECU.




12. REMOVE NO. 2 DISC PLAYER BRACKET
a. Remove the 2 screws and bracket.




13. REMOVE NO. 1 DISC PLAYER BRACKET
a. Remove the 2 screws and bracket.

14. REMOVE NAVIGATION ECU

INSTALLATION

HINT: A bolt without a torque specification is shown in the standard bolt chart.




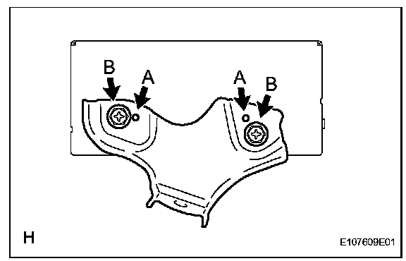
1. INSTALL NO. 2 DISC PLAYER BRACKET
a. Install the bracket's aligning protrusions labeled A to the ECU.
b. Install the 2 screws labeled B.




2. INSTALL NO. 1 DISC PLAYER BRACKET
a. Install the bracket's aligning protrusions labeled A to the ECU.
b. Install the 2 screws labeled B.




3. INSTALL NAVIGATION ECU WITH DISC PLAYER BRACKET
a. Install the navigation ECU with bracket with the 3 bolts.
b. Connect the connectors.

4. INSTALL GLOVE COMPARTMENT DOOR SUBASSEMBLY
5. INSTALL FRONT PASSENGER SIDE KNEE AIRBAG ASSEMBLY
6. INSTALL NO. 2 INSTRUMENT PANEL UNDER COVER SUB-ASSEMBLY
7. INSTALL INSTRUMENT SIDE PANEL RH
8. INSTALL FRONT DOOR OPENING TRIM COVER RH
9. INSTALL FRONT DOOR SCUFF PLATE RH
10. INSTALL INSTRUMENT PANEL FINISH PANEL END RH
11. INSTALL CONSOLE UPPER PANEL ASSEMBLY
12. INSTALL FRONT CONSOLE UPPER PANEL GARNISH
13. CONNECT CABLE TO NEGATIVE BATTERY TERMINAL

14. PERFORM INITIALIZATION
a. Perform initialization.Testing and Inspection

NOTE: Certain systems need to be initialized after disconnecting and reconnecting the cable from the negative (-) battery terminal.

15. CHECK SRS WARNING LIGHT
a. Check SRS warning light.Refer to Restraint Systems Service Precautions.