Curiosii for ever!
: Car repair manuals for everyone.
Home
>>
Lexus
>>
2007
>>
GS 350 RWD V6-3.5L (2GR-FSE)
>>
Repair and Diagnosis
>>
Powertrain Management
>>
Computers and Control Systems
>>
Information Bus
>>
Testing and Inspection
>>
Component Tests and General Diagnostics
>>
Gateway CAN ECU Communication Stop Mode
Gateway CAN ECU Communication Stop Mode
Gateway CAN ECU Communication Stop Mode
Symptom:
DESCRIPTION
HINT:
For vehicles with Active Stabilizer Suspension System only.
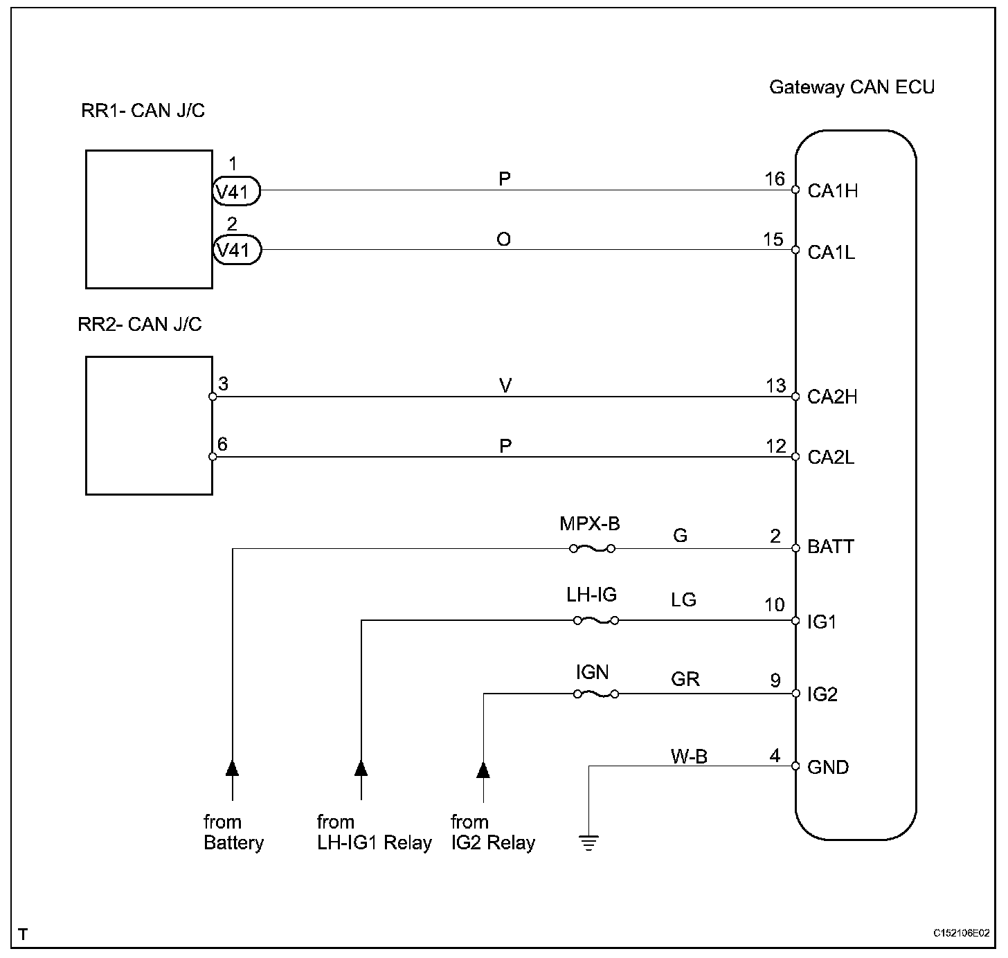
Wiring Diagram:
Step 1-2:
INSPECTION PROCEDURE