Curiosii for ever!: Car repair manuals for everyone.

Windshield: Service and Repair

WINDSHIELD GLASS

Windshield Glass:




Windshield Glass:




Windshield Glass:





REMOVAL

1. DISCONNECT CABLE FROM NEGATIVE BATTERY TERMINAL

CAUTION: Wait at least 90 seconds after disconnecting the cable from the negative (-) battery terminal to prevent airbag and seat belt pretensioner activation.

2. REMOVE COOL AIR INTAKE DUCT SEAL
3. REMOVE ENGINE ROOM SIDE COVER LH
4. REMOVE FRONT FENDER TO COWL SIDE SEAL LH
5. REMOVE FRONT FENDER TO COWL SIDE SEAL RH
6. REMOVE FRONT WIPER ARM LH
7. REMOVE FRONT WIPER ARM RH
8. REMOVE COWL TOP VENTILATOR LOUVER SUB-ASSEMBLY
9. REMOVE ROOF DRIP SIDE FINISH MOULDING CENTER LH
10. REMOVE ROOF DRIP SIDE FINISH MOULDING CENTER RH
11. REMOVE FRONT DOOR SCUFF PLATE LH
12. REMOVE FRONT DOOR SCUFF PLATE RH
13. REMOVE FRONT DOOR OPENING TRIM COVER LH
14. REMOVE FRONT DOOR OPENING TRIM COVER RH
15. REMOVE FRONT PILLAR GARNISH LH
16. REMOVE FRONT PILLAR GARNISH RH
17. REMOVE VISOR BRACKET COVER
18. REMOVE VISOR ASSEMBLY LH
19. REMOVE VISOR ASSEMBLY RH
20 REMOVE VISOR HOLDER
21. REMOVE FRONT ROOF TOP GARNISH
22. REMOVE INNER REAR MIRROR COVER
23. REMOVE MAP LIGHT ASSEMBLY
24. REMOVE STEERING SPOT LIGHT ASSEMBLY
25. REMOVE VANITY LIGHT ASSEMBLY
26. REMOVE ASSIST GRIP ASSEMBLY
27. REMOVE ROOF HEADLINING ASSEMBLY
It is not necessary to completely remove the roof headlining. Slightly lower the front section of the roof headlining so that the windshield glass can be removed.

28. REMOVE INNER REAR VIEW MIRROR ASSEMBLY
29. REMOVE RAIN SENSOR (w/ RAIN SENSOR)
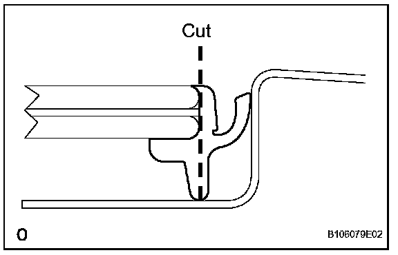
30. REMOVE WINDSHIELD GLASS





a. Using a knife, cut off the moulding as shown in the illustration.

NOTICE: Be careful not to damage the vehicle body.

b. Remove the remaining moulding.

HINT: Make a partial cut in the moulding. Then pull and remove it by hand.





c. Apply protective tape to the outer surface of the vehicle body to prevent scratches.
d. From the interior, insert a piano wire between the vehicle body and glass as shown in the illustration.
e. Tie objects that can serve as handles (for example, wooden blocks) to both wire ends.

NOTICE:
- When separating the glass from the vehicle, be careful not to damage the vehicle's paint or interior/exterior ornaments.
- To prevent the instrument panel from being scratched when removing the glass, place a plastic sheet between the piano wire and instrument panel.





f. Place matchmarks over the glass and vehicle body on the locations indicated in the illustration.

HINT: Matchmarks do not need to be placed if not reusing the glass.

g. Cut through the adhesive by pulling the piano wire around the glass.

NOTICE: Leave as much adhesive on the vehicle body as possible when removing the glass.

h. Detach the stoppers.
i. Using suction cups, remove the glass.

31. REMOVE WINDSHIELD GLASS SPACER
a. Using a scraper, remove the damaged spacer.

32. REMOVE WINDSHIELD GLASS RETAINER
a. Using a scraper, remove the damaged retainer.

33. REMOVE WINDSHIELD GLASS ADHESIVE DAM
a. Using a scraper, remove the damaged dam.





34. CLEAN WINDSHIELD GLASS
a. Using a scraper, remove the adhesive sticking to the glass.
b. Clean the outer edges of the glass with white gasoline.

NOTICE:
- Do not touch the glass surface after cleaning it.
- Even if using new glass, clean it with white gasoline.

35. REMOVE NO. 1 WINDSHIELD GLASS STOPPER
a. Remove the stopper from the vehicle body.





36. CLEAN VEHICLE BODY
a. Clean and shape the contact surface of the vehicle body.
1. On the contact surface of the vehicle body, use a knife to cut away excess adhesive as shown in the illustration.

NOTICE: Be careful not to damage the vehicle body.

HINT: Leave as much adhesive on the vehicle body as possible.

2. Clean the contact surface of the vehicle body with cleaner.

HINT: Even if all the adhesive has been removed, clean the vehicle body.

INSTALLATION

1. INSTALL WINDSHIELD GLASS SPACER
a. Apply Primer G to the glass where the spacers will be installed.

NOTICE:
- Allow the primer to dry for 3 minutes or more.
- Throw away any leftover primer.
- Do not apply too much primer.

b. Install 2 new spacers onto the glass as shown in the illustration.





2. INSTALL WINDSHIELD GLASS RETAINER
a. Apply Primer G to the glass where the retainer be installed.

NOTICE:
- Allow the primer to dry for 3 minutes or
- Throw away any leftover primer.
- Do not apply too much primer.

b. Install 2 new retainers onto the glass as shown in the illustration.





3. INSTALL NO. 1 WINDSHIELD GLASS STOPPER





a. Install 2 new stoppers to the vehicle body as shown in the illustration.

4. INSTALL WINDSHIELD GLASS ADHESIVE DAM
a. Apply Primer G to the glass where the glass adhesive dams will be installed.

NOTICE:
- Allow the primer to dry for 3 minutes or more.
- Throw away any leftover primer.
- Do not apply too much primer.

b. Remove the peeling paper from the adhesive part of the dam. Install the dam (adhesive side) to the glass (Primer G area), but exclude the area above the notches on the upper part of the glass.





5. INSTALL WINDSHIELD GLASS





a. Position the glass.
1. Using suction cups, place the glass in the correct position.
2. Check that the entire contact surface of the glass rim is perfectly even.
3. Place matchmarks on the glass and vehicle body on the locations indicated in the illustration.

HINT:
- Placing matchmarks is only necessary when installing new glass. If it is the reused glass, matchmarks should already be present.
- When reusing the glass, check and correct the matchmark positions.

NOTICE: Check that the stoppers are attached to the vehicle body correctly.

4. Using suction cups, remove the glass.





b. Using a brush, apply Primer M to the exposed part of the vehicle body.

NOTICE:
- Allow the primer to dry for 3 minutes or more.
- Do not apply primer to the adhesive.
- Throw away any leftover primer.
- Do not apply too much primer.

c. Using a brush or sponge, apply Primer G to the contact surface of the glass.





HINT: If the primer is applied to an area that is not specified, apply white gasoline to a clean cloth and wipe off the excess primer.

NOTICE:
- Allow the primer to dry for 3 minutes or more.
- Throw away any leftover primer.
- Do not apply too much primer.

d. Apply adhesive to the glass.

Adhesive: Part No. 08850-00801 or equivalent

1. Cut off the tip of the cartridge nozzle as shown in the illustration.

HINT: After cutting off the tip, use all adhesive within the time written in the table below.





2. Load the sealer gun with the cartridge.
3. Apply adhesive to the glass as shown in the illustration.





e. Install the glass to the vehicle body.





1. Using suction cups, position the glass so that the matchmarks are aligned. Press it in gently along the rim.
2. Lightly press the outer surface of the glass to ensure that it is securely fit to the vehicle body.

NOTICE:
- Check that the stoppers are attached to the vehicle body correctly.
- Check that the vehicle body and glass have a small gap between them.

3. Hold the glass in place securely with protective tape or equivalent until the adhesive hardens.

NOTICE: Do not drive the vehicle for the amount of time written in the table below.





6. INSTALL RAIN SENSOR (w/ RAIN SENSOR)
7. INSTALL INNER REAR VIEW MIRROR ASSEMBLY
8. INSTALL ROOF HEADLINING ASSEMBLY
9. INSTALL ASSIST GRIP ASSEMBLY
10. INSTALL VANITY LIGHT ASSEMBLY
11. INSTALL STEERING SPOT LIGHT ASSEMBLY
12. INSTALL MAP LIGHT ASSEMBLY
13. INSTALL INNER REAR MIRROR COVER
14. INSTALL FRONT ROOF TOP GARNISH
15. INSTALL VISOR HOLDER
16. INSTALL VISOR ASSEMBLY LH
17. INSTALL VISOR ASSEMBLY RH
18. INSTALL VISOR BRACKET COVER
19. INSTALL FRONT PILLAR GARNISH LH
20. INSTALL FRONT PILLAR GARNISH RH
21. INSTALL FRONT DOOR OPENING TRIM COVER LH
22. INSTALL FRONT DOOR OPENING TRIM COVER RH
23. INSTALL FRONT DOOR SCUFF PLATE LH
24. INSTALL FRONT DOOR SCUFF PLATE RH
25. INSTALL ROOF DRIP SIDE FINISH MOULDING CLIP
26. INSTALL ROOF DRIP SIDE FINISH MOULDING CENTER LH
27. INSTALL ROOF DRIP SIDE FINISH MOULDING CENTER RH
28. INSTALL COWL TOP VENTILATOR LOUVER SUB-ASSEMBLY
29. INSTALL FRONT WIPER ARM LH
30. INSTALL FRONT WIPER ARM RH
31. INSTALL FRONT FENDER TO COWL SIDE SEAL LH
32. INSTALL FRONT FENDER TO COWL SIDE SEAL RH
33. INSTALL ENGINE ROOM SIDE COVER LH
34. INSTALL COOL AIR INTAKE DUCT SEAL
35. CHECK FOR LEAKS AND REPAIR
a. Conduct a leak test after the adhesive has completely hardened.
b. Seal any leaks with auto glass sealer.

36. CONNECT CABLE TO NEGATIVE BATTERY TERMINAL
37. PERFORM INITIALIZATION
a. Perform initialization.

NOTICE: Certain systems needs to be initialized after disconnecting and reconnecting the cable from the negative (-) battery terminal.