Curiosii for ever!: Car repair manuals for everyone.

Radiator Cooling Fan Control Module: Testing and Inspection

COOLING FAN ECU

ON-VEHICLE INSPECTION

Rear View Of Harness Connector:





1. CHECK COOLING FAN ECU
(a) Check the resistance of the wire harness between the ECM A6-10 (RFC) and cooling fan ECU B3-2 (S1).

Standard resistance:





If the result is not as specified, repair or replace the wire harness or connector.
(b) Check the input signal and output current.

HINT: Be sure to perform the inspection with the engine coolant temperature less than 92°C (198°F).

(1) Connect the 400 A prove of an ammeter to the No. 1 cooling fan motor harness (M+), and then No. 2 cooling fan motor harness (S+).
(2) Connect the intelligent tester to the DLC3.
(3) Using the intelligent tester, check the waveform between terminals A6-10 (RFC) and E7-7 (E1) of the ECM.

HINT: Select the following menu items: DIAGNOSIS / ENHANCED OBD II / ACTIVE TEST / FAN MOTOR.




Standard waveform:





^ If the input signal is abnormal, there is a malfunction in the ECM or cooling fan ECU.
^ If the output current is abnormal even when the input signal is normal, there is a malfunction in the cooling fan ECU (S1), cooling fan motor or power source circuit.

Front View Of Wire Harness Connector:





(c) Check the input voltage.
(1) Disconnect the cooling fan ECU connector.
(2) Turn the engine switch on (IG). Check the voltage of the B3-3 (+B1) terminal on the wire harness side.
Standard voltage: 11 to 14 V
If the result is not as specified, check the power source system (H-fuse, fuse, wire harness and relay).
(3) Connect the cooling fan ECU connector.
(d) Check the wire harness (Cooling fan ECU and body ground).
(1) Disconnect the cooling fan ECU connector.
(2) Measure the resistance of the B3-1 (E1) and body ground.
Standard resistance: Below 1 Ohms
If the result is not as specified, check the wire harness or connector.
(3) Connect the cooling fan ECU connector.
(e) Check the cooling fan motor.
If the result is not as specified, replace the cooling fan motor.





(f) Check the cooling fan motor operation.
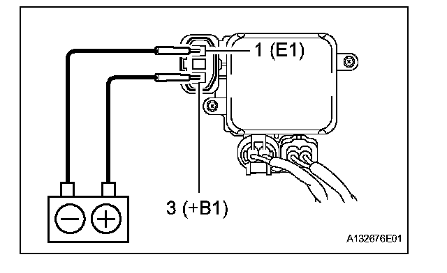
(1) Disconnect the cooling fan ECU connector.
(2) Connect the battery to the cooling ECU at terminals 3 (+B1) and 1 (E1).
(3) Check that the cooling fan motor rotates.
If it does not operate, replace the cooling fan ECU.