Curiosii for ever!: Car repair manuals for everyone.

Overhaul

DISASSEMBLY

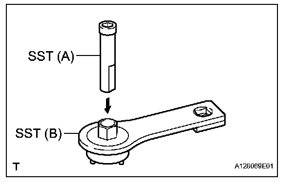
1. REMOVE GENERATOR CLUTCH PULLEY




a. Using a screwdriver, remove the generator pulley cap.




b. Set SST (A) and (B).

SST 09820-63020

c. Clamp SST (A) in a vise.




d. Place the rotor shaft end into SST (A).




e. Fit SST (B) to the clutch pulley.




f. Loosen the pulley by turning SST (B) in the direction given in the illustration.
g. Remove the generator assembly from the SST.
h. Remove the clutch pulley from the rotor shaft.

2. REMOVE GENERATOR REAR END COVER




a. Place the generator assembly on the clutch pulley.




b. Remove the 3 nuts and generator rear end cover.

3. REMOVE GENERATOR TERMINAL INSULATOR




a. Remove the terminal insulator from the generator coil.

4. REMOVE GENERATOR BRUSH HOLDER ASSEMBLY




a. Remove the 2 screws and brush holder from the generator coil.

5. REMOVE GENERATOR COIL ASSEMBLY




a. Remove the 4 bolts.




b. Using SST, remove the generator coil assembly.

SST 09950-40011 (09951-04020, 09952-04010, 09953-04020, 09954-04010, 09955-04071, 09957-04010, 09958-04011)

6. REMOVE GENERATOR ROTOR ASSEMBLY




a. Remove the generator washer.




b. Remove the generator rotor assembly.

7. REMOVE GENERATOR DRIVE END FRAME BEARING




a. Remove the 4 screws and retainer plate from the drive end frame.




b. Using SST and a hammer, tap out the drive end frame bearing from the drive end frame.

SST 09950-60010 (09951-00250), 09950-70010 (09951-07100)

REASSEMBLY

1. INSTALL GENERATOR DRIVE END FRAME BEARING




a. Using SST and a press, press in a new generator drive end frame bearing.

SST 09950-60010 (09951-00470), 09950-70010 (09951-07100)




b. Fit the tabs on the retainer plate into the cutouts on the drive end frame to install the retainer plate.
c. Install the 4 screws.

Torque: 2.3 N.m (23 kgf.cm, 20 in.lbf)

2. INSTALL GENERATOR ROTOR ASSEMBLY
a. Place the drive end frame on the clutch pulley.




b. Install the generator rotor assembly to the drive end frame.




c. Place a new generator washer on the generator rotor.

3. INSTALL GENERATOR COIL ASSEMBLY




a. Using a deep socket wrench (21 mm) and a press, slowly press in the generator coil assembly.




b. Install the 4 bolts.

Torque: 5.8 N.m (59 kgf.cm, 51 in.lbf)

4. INSTALL GENERATOR BRUSH HOLDER ASSEMBLY




a. While pushing the 2 brushes into the generator brush holder assembly, insert a Dia.1.0 mm (0.039 in.) pin into the brush holder hole.




b. Install the brush holder assembly to the generator coil with the 2 screws.

Torque: 1.8 N.m (18 kgf.cm, 16 in.lbf)

c. Pull out the pin from the generator brush holder.

5. INSTALL GENERATOR TERMINAL INSULATOR




a. Install the terminal insulator to the generator coil.

NOTE: Be sure to install the terminal insulator in the correct direction.

6. INSTALL GENERATOR REAR END COVER




a. Install the generator rear end cover to the generator coil with the 3 nuts.

Torque: 4.6 N.m (47 kgf.cm, 41 in.lbf)

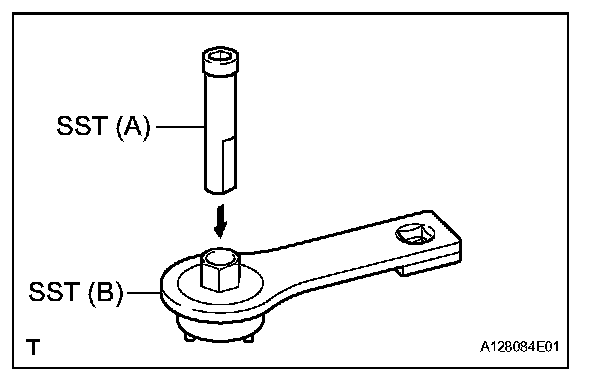
7. INSTALL GENERATOR CLUTCH PULLEY
a. Temporarily install the clutch pulley onto the rotor shaft.




b. Set SST (A) and (B).

SST 09820-63020




c. Clamp SST (A) in a vise.
d. Place the rotor shaft end into SST (A).




e. Fit SST (B) to the clutch pulley.




f. Tighten the pulley by turning SST (B) in the direction given in the illustration.

Torque: 111 N.m (1,125 kgf.cm, 81 ft.lbf)

NOTE: The torque given above should be used for tightening without using the SST. When the SST is used for tightening, the torque should be calculated based on the length of the SST.

g. Remove the generator assembly from the SST.
h. Check that the clutch pulley rotates smoothly.
i. Install a new clutch pulley cap to the clutch pulley.