Curiosii for ever!: Car repair manuals for everyone.

Check For Short Circuits

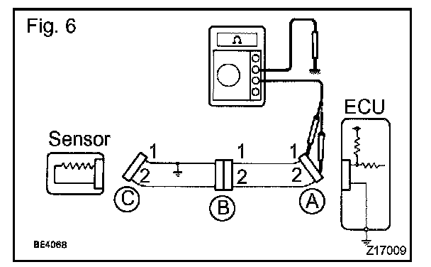
CHECK FOR SHORT CIRCUITS




a. If the wire harness is ground shorted (Fig. 5), locate the section by conducting a resistance check with the body ground (below).







b. Check the resistance with the body ground.
1. Disconnect connectors A and C, and measure the resistance.

HINT: Measure the resistance while lightly shaking the wire harness vertically and horizontally.

If your results match the examples above, a short circuit exists between terminal 1 of connector A and terminal 1 of connector C.







2. Disconnect connectors A and B, and measure the resistance.

If your results match the examples above, a short circuit exists between terminal 1 of connector B2 and terminal 1 of connector C.