Curiosii for ever!: Car repair manuals for everyone.

Oxygen Sensor: Testing and Inspection

INSPECTION




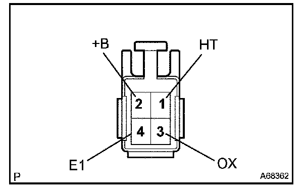
1. INSPECT HEATED OXYGEN SENSOR (HEATER RESISTANCE)
a. Bank 1 sensor 1, bank 2 sensor 1: Disconnect the sensor connector.




b. Measure the resistance between terminals 1 (HT) and 2 (+B).
If the result is not as specified, replace the sensor.




c. Bank 1 sensor 2, bank 2 sensor 2: Disconnect the sensor connector.




d. Measure the resistance between terminals 1 (HT) and 2 (+B).
If the result is not as specified, replace the sensor.