Curiosii for ever!: Car repair manuals for everyone.

CAN Communication System

TERMINALS OF ECU

HINT: This section describes the standard CAN values for all CAN related components.

1. JUNCTION CONNECTOR (D CAN J/C, P CAN J/C, LUG CAN J/C).







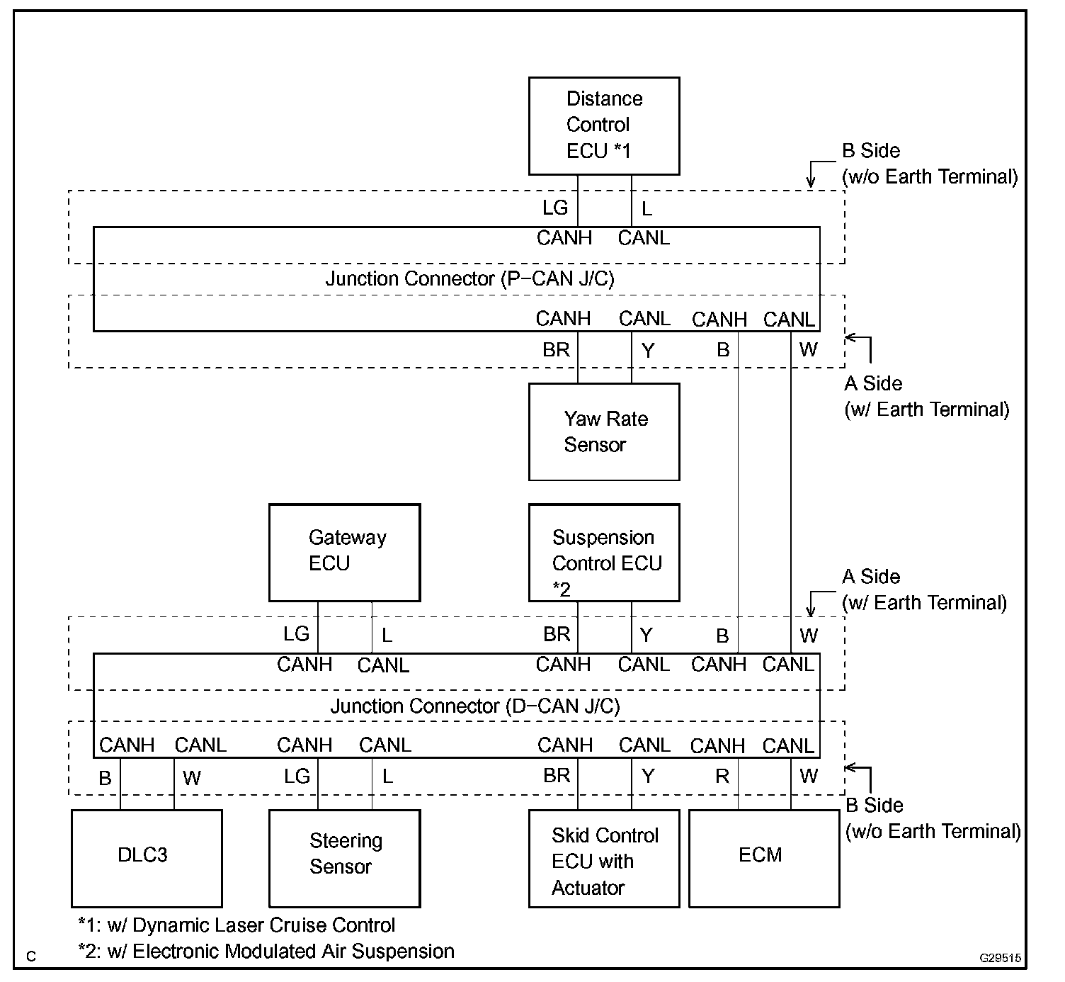
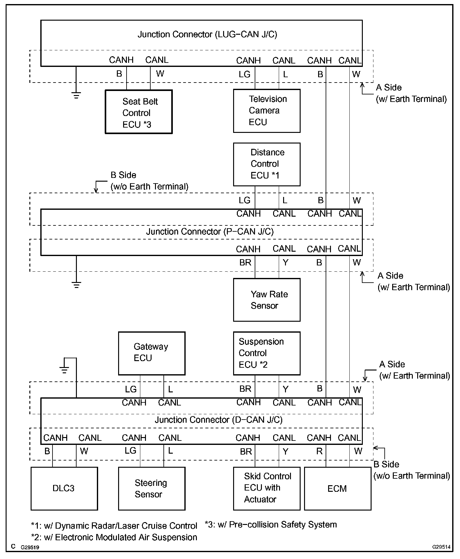
a. D CAN J/C.

HINT:
- The connectors connected to the CAN J/C can be distinguished by the colors of the bus lines and the connecting side of the connector.
- The connectors can be connected to any terminals on the same side.







b. P CAN J/C.

HINT:
- The connectors connected to the CAN J/C can be distinguished by the colors of the bus lines and the connecting side of the connector.
- The connectors can be connected to any terminals on the same side.







c. LUG CAN J/C.

NOTE: The LUG CAN J/C is only mounted in vehicles with a LEXUS Navigation System.







d. The terminals on connectors for the CAN J/C.




e. WIRING DIAGRAM FOR IDENTIFYING CAN J/C CONNECTORS (w/ LEXUS Navigation System).




f. WIRING DIAGRAM FOR IDENTIFYING CAN J/C CONNECTORS (w/o LEXUS Navigation System).

2. DLC3







a. Measure the resistance according to the value(s) in the table.

3. SKID CONTROL ECU







a. Measure the resistance according to the value(s) in the table.

4. STEERING SENSOR







a. Measure the resistance according to the value(s) in the table.

5. YAW RATE SENSOR







a. Measure the resistance according to the value(s) in the table.

6. DISTANCE CONTROL ECU







a. Measure the resistance according to the value(s) in the table.

7. TELEVISION CAMERA ECU







a. Measure the resistance according to the value(s) in the table.

8. ECM







a. Measure the resistance according to the value(s) in the table.

9. GATEWAY ECU







a. Measure the resistance according to the value(s) in the table.

10. SUSPENSION CONTROL ECU







a. Measure the resistance according to the value(s) in the table.

11. SEAT BELT CONTROL ECU







a. Measure the resistance according to the value(s) in the table.