Curiosii for ever!: Car repair manuals for everyone.

Millimeter Wave Radar Sensor Assy

ADJUSTMENT

CAUTION: Radio Frequency Exposure
This device comply with applicable FCC radio frequency exposure regulations, must be adjusted with a distance of at least 20 cm (7.9 inches) between the RF aperture of device and the body of any person at all time during adjustment.




1. ADJUST MILLIMETER WAVE RADAR SENSOR ASSEMBLY

NOTE:
- Be sure to measure on level ground.
- Check that there is no metal in the surroundings or on the ground. (No large metal pieces may be placed within a 10 m (32.81 ft) * 14 m (45.93 ft) region in front of the vehicle. It is preferable that the area surrounding this region is also cleared of such pieces.)

a. Preparation for adjusting the radar beam axis
1. Adjust the tire pressure properly.
2. Luggage in the vehicle, such as in the trunk, should be unloaded.

b. Adjust the standard vehicle height (vehicle with air suspension)




c. Adjustment in vertical direction of the millimeter wave radar sensor.
1. Remove dust and oil on the level rack of the millimeter wave radar sensor.
2. Set the specified level on the center of the level rack of the millimeter wave radar sensor.







3. Using a hexagon wrench, turn and adjust screw A for vertical adjustment of the millimeter wave radar sensor so that the air bubble is within the red frame on the level.

Standard:
Adjustable range within the red frame of the level is ±0.2°.




d. Adjust the reflector height
1. Adjust the reflector so that the center of the SST reflector is the same height as the millimeter wave radar sensor.
SST 09870-60000 (09870-60010, 09870-60040)

HINT: Prepare a 10 m (32.81 ft) string, a string with a sharp-pointed weight (plumb bob), and a 5 m (16.41 ft) tape measure.







e. Place the reflector
1. From the center (center of the emblem) of the front and rear bumpers, hang down the string with the plumb bob and mark the center points (both front and rear) of the vehicle on the ground properly.
2. Extend the 10 m (32.82 ft) string from the rear center mark forward through the front center mark. Make a mark 5 m (16.41 ft) forward of the front marked point.

HINT: Fix one end of the string to the rear center mark and move the other end right and left at a point 5 m from the front of the vehicle. Make a 5 m (16.41 ft) mark when the string and the front vehicle center mark intersect.




3. From the 5 m (16.41 ft) marked position, measure 12 mm (0.47 in.) to the left and place the reflector there.

NOTE: Perform the operation as precisely as possible.




f. Adjust the radar beam axis
1. Turn the ignition switch to the ON position.
2. Push the cruise control main switch ON-OFF button on.
3. Connect the hand-held tester to the DLC3, and turn the power ON.




4. Operate by following the screen menu and select "BEAM AXIS ADJUST" of the Radar Cruise Control, then press the "ENTER" key.

HINT:
- Pressing the "ENTER" key will make the ECM transfer to BEAM AXIS ADJUSTMENT MODE.
- When the ECM transfers to BEAM AXIS ADJUSTMENT MODE, the buzzer sounds for 1 second.




5. Select "5: RADAR CRUISE".
6. Press the "ENTER" key.




7. Select "6: BEAM AXIS ADJUST".
8. Press the "ENTER" key.




9. Press the "ENTER" key.




10. Press the "ENTER" key.




11. After the CRUISE main indicator light comes on, press the "ENTER" key.
12. Press the "ENTER" key.




13. Confirm that the current distance (reference value) is approximately 5 m (16.41 ft).

HINT: If the distance is 0 m, the sensor can not detect the target. Reconfirm that there is no metal in the region.

*1: Either DISTANCE is indicated.
*2: Either LEFT or RIGHT is indicated.
*3: Values between 0.0 and 6.3 are indicated. Adjust the radar beam axis so that the value falls between 4.0 and 6.0.
*4: Values between 0.0 and 6.3 are indicated.
The direction and angle that actually deviate from the spec are displayed in the multi-information display on the combination meter when starting the beam axis adjustment mode with the hand-held tester.




g. Adjustment in horizontal direction
1. Read the divergence in the current angle.
Standard:
0 °(Both right and left)

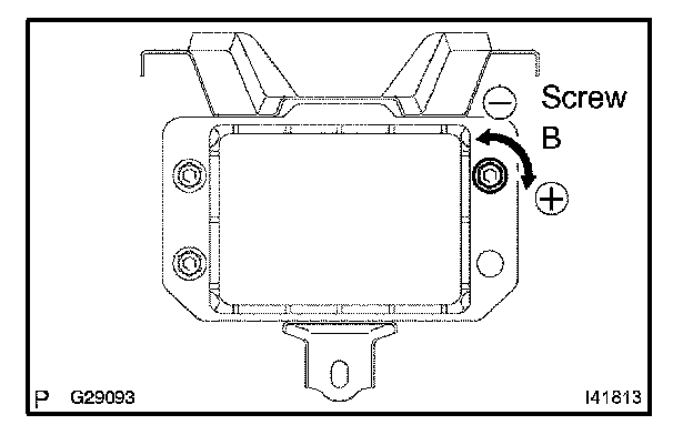
2. Based on the measured divergence of the beam axis, turn and adjust screw B for horizontal adjustment of the millimeter wave radar sensor using a hexagon wrench.

HINT: If "LEFT SIDE: 0.6 °" is displayed, the divergence is 0.6° in the left direction. Give the screw approximately 3 turns to the positive (+) side.






HINT: If the value does not change to , it is possible that the sensor is aiming at something different. Reconfirm that there are no reflective materials in the surroundings.




3. Cover the sensor's right half with metal that can block radio wave (such as aluminum foil) in order to reset the driving learning values (approximately 10 seconds).

NOTE: Be sure to keep the reflector in place and that there is nothing between the sensor's left half and the reflector.

HINT: When the reset is completed, the buzzer sounds for 10 seconds.

4. Disconnect the hand-held tester from the DLC3.

h. Recheck vertical adjustment of the millimeter wave radar sensor.




1. Set the specified level on the center of the level rack of the millimeter wave radar sensor.







2. Using a hexagon wrench, turn and adjust screw A for vertical adjustment of the millimeter wave radar sensor so that the air bubble is within the red frame on the level.

Standard:
Adjustable range within the red frame of the level is ±0.2°.