Curiosii for ever!
: Car repair manuals for everyone.
Home
>>
Lexus
>>
2006
>>
IS 250 RWD V6-2.5L (4GR-FSE)
>>
Repair and Diagnosis
>>
Body and Frame
>>
Locks
>>
Keyless Entry
>>
Testing and Inspection
>>
Component Tests and General Diagnostics
>>
Smart Access System With Push-Button Start
>>
Touch Sensor Circuit
Touch Sensor Circuit
Touch Sensor Circuit
DESCRIPTION
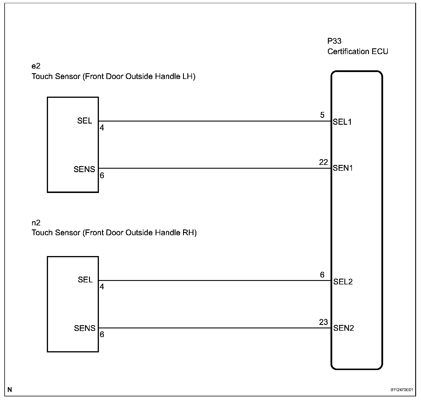
This circuit receives the signal indicating whether or not a touch sensor signal is detected.
Wiring Diagram:
Step 1:
Step 1(continued)-2:
Step 2(continued)-4:
INSPECTION PROCEDURE