Curiosii for ever!: Car repair manuals for everyone.

Engine Switch Indicator Circuit

Engine Switch Indicator Circuit

DESCRIPTION




Engine start conditions or system malfunctions can be checked by the status of the engine switch
indicator light.
Engine switch indicator light condition:

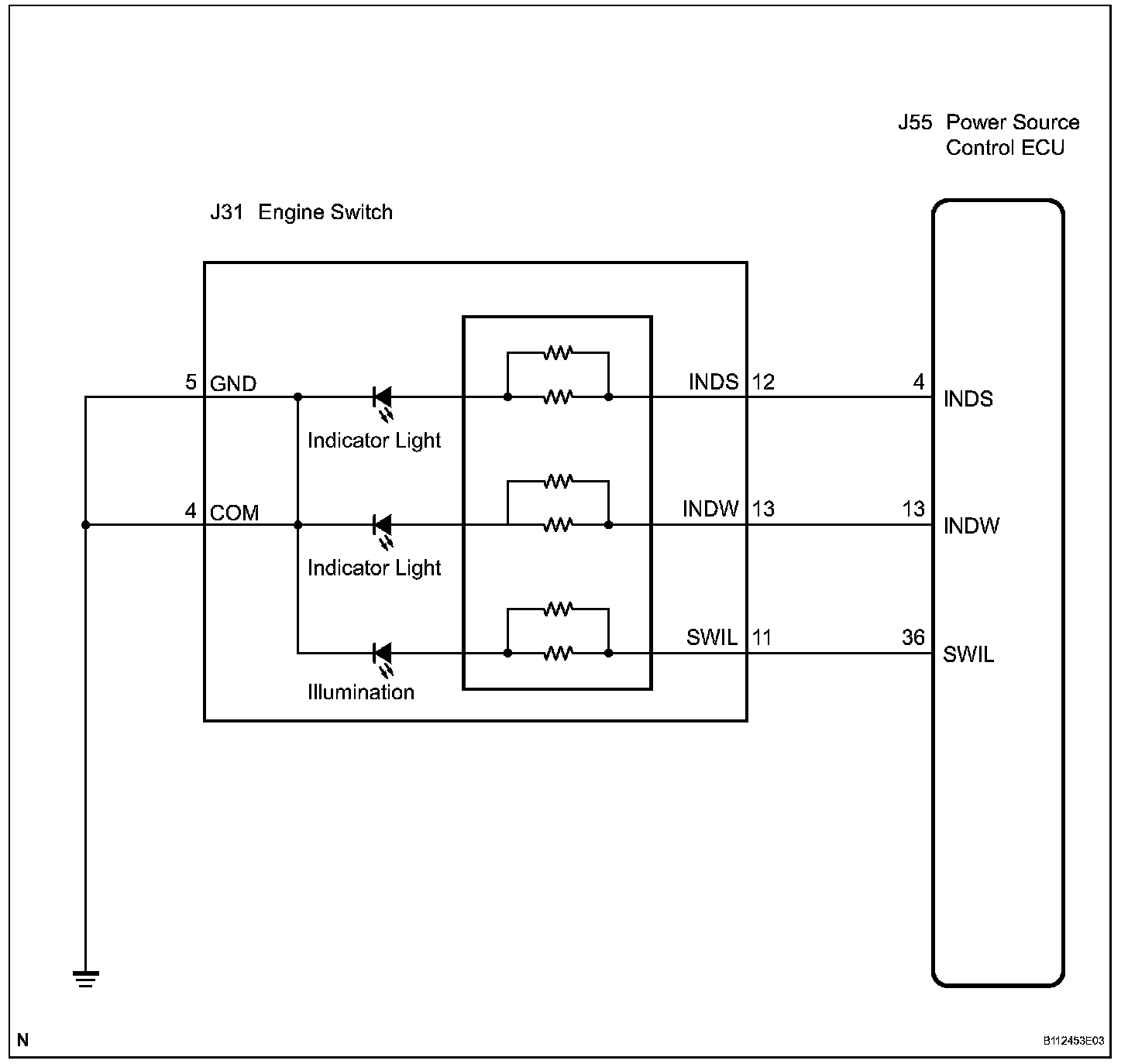
Wiring Diagram:






Step 1:




Step 1(continued):




Step 2:




INSPECTION PROCEDURE