Curiosii for ever!: Car repair manuals for everyone.

Variable Valve Timing Actuator Position Sensor: Testing and Inspection

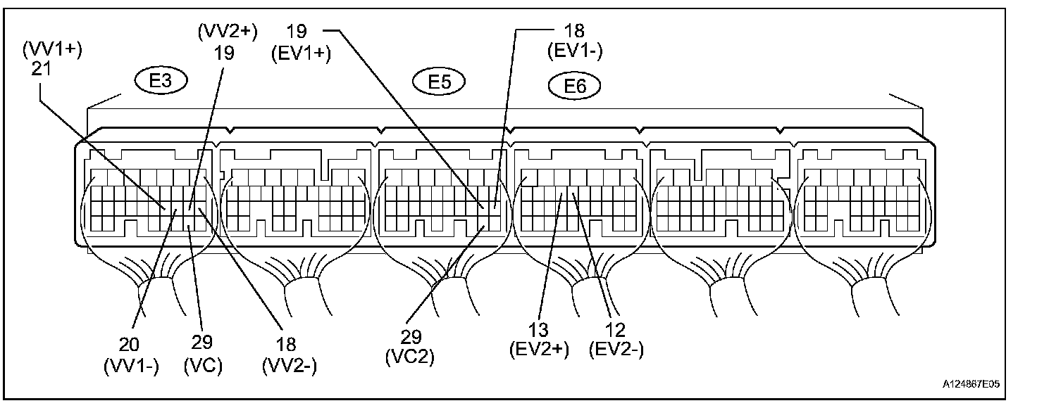
ON-VEHICLE INSPECTION

INSPECT CHECK VVT SENSOR OUTPUT VOLTAGE





a. Turn the engine switch on (IG).




b. Check the voltage between the terminals.




c. While turning the crankshaft pulley by hand, measure the voltage between each terminal. Check that the voltage changes between the Hi range and Lo range shown in the table.