Curiosii for ever!: Car repair manuals for everyone.

System Specifications

CYLINDER BORE
Using a cylinder gauge, measure the cylinder bore diameter at positions A and B in the thrust and axial directions.
Standard diameter 87.500 to 87.512 mm (3.4449 to 3.445 in.)
Maximum diameter 87.700 mm (3.4527 in.)
If the average diameter of 4 positions is greater than the maximum, replace the cylinder block.


CRANKSHAFT

Crankshaft Main Journal Diameter:




Standard Upper Bearing Center Wall Thickness (No. 1 and No. 4 Journal) (part 1):




Standard Upper Bearing Center Wall Thickness (No. 1 and No. 4 Journal) (part 2):




Standard Lower Bearing Center Thickness (No. 1 and No. 4 Journal):




Standard Upper Bearing Center Thickness (No. 2 and No. 3 Journal):




Standard Lower Bearing Center Thickness (No. 2 and No. 3 Journal):








Inspect for circle runout.
Place the crankshaft on the V-blocks.
Using a dial indicator, measure the circle runout at the center journal.
Maximum circle runout: 0.06 mm (0.0024 inch)
If the circle runout is greater than the maximum, replace the crankshaft.





Inspect the main journals.
Using a micrometer, measure the diameter of each main journal.
Standard journal diameter: 60.988 to 61.00 mm (2.4011 to 2.4016 inch)
If the diameter is not as specified, check the oil clearance. If necessary, replace the crankshaft.
Check each main journal for taper and out-of-round as shown in the illustration.
Maximum taper and out-of-round: 0.02 mm (0.0008 inch)
If the taper and out-of-round is greater than the maximum, replace the crankshaft.





Inspect the crank pin.
Using a micrometer, measure the diameter of each crank pin.
Diameter: 52.992 to 53.000 mm (2.0863 to 2.0866 inch)
If the diameter is not as specified, check the oil clearance. If necessary, replace the crankshaft
Check each crank pin for taper and out-of-round as shown in the illustration.
Maximum taper and out-of-round: 0.02 mm (0.0008 inch)
If the taper and out-of-round is greater than the maximum, replace the crankshaft.


CRANKSHAFT MAIN BEARING CAPS

HINT: The main bearing cap bolts are tightened in 2 progressive steps.





Install and uniformly tighten the 16 main bearing cap bolts in the sequence shown in the illustration.
Torque 61 Nm (622 kgf-cm 45 ft. lbs.)
If any of the main bearing cap bolts does not meet the torque specified, replace it.





Mark the front of the bearing cap bolts with paint.
Retighten the bearing cap bolts by 90° in the order above.
Check that the painted mark is now at a 90° angle to the front.


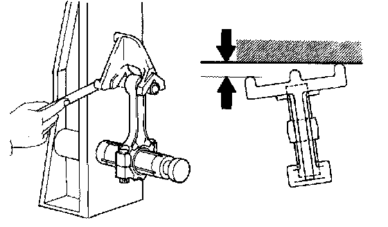
CONNECTING ROD
Using a rod aligner and feeler gauge, check the connecting rod alignment.
Check for out-of-alignment.
Maximum out-of-alignment 0.05 mm (0.0020 inch) per 100 mm (0.94 inch)
If the out-of-alignment is greater the than maximum, replace the connecting rod assembly





Check for twist.
Maximum twist 0.15 mm (0.0059 inch) per 100 mm (3.94 inch)
If the twist is greater than the maximum, replace the connecting rod assembly.





CONNECTING ROD BOLT
Using vernier calipers, measure the tension portion diameter of the bolt.
Standard diameter 7.2 to 7.3 mm (0.283 to 0.287 inch)
Minimum diameter 7.0 mm (0.276 inch)
If the diameter is less than the minimum, replace the bolt.


PISTON PIN OIL CLEARANCE
Using a caliper gauge, measure the inside diameter of the piston pin hole.

Piston Pin Hole Inside Diameter:








Using a micrometer, measure the piston pin diameter.

Piston Pin Diameter:








Subtract the piston pin diameter measurement from the piston pin hole diameter measurement.
Standard oil clearance 0.002 to 0.004 mm (-0.00004 to 0.00002 inch)
Maximum oil clearance 0.015 mm (0.0006 inch)
If the oil clearance is greater than the maximum, replace the piston and piston pin as a set.
Using a caliper gauge, measure the inside diameter of the connecting rod bushing.

Bushing Inside Diameter:








Subtract the piston pin diameter measurement from the bushing inside diameter measurement.
Standard oil clearance 0.005 to 0.011 mm (0.0002 to 0.0004 inch)
Maximum oil clearance 0.03 mm (0.0012 inch)
If the oil clearance is greater than the maximum, replace the bushing. If necessary, replace the connecting rod and piston pin as a set.


PISTON RING END GAP
Insert the piston ring into the cylinder bore.
Using a piston, push the piston ring a little beyond the bottom of the ring travel, 110 mm (4.33 inch) from the top of the cylinder block.





Using a feeler gauge, measure the end gap.

Standard End Gap:




Maximum End Gap:





If the end gap is greater than the maximum, replace the piston ring. If the end gap is greater than the maximum even with a new piston ring, rebore all the 4 cylinders or replace the cylinder block.


CRANKSHAFT PULLEY
Align the pulley set key with the key groove of the pulley, and slide on the pulley.
Using SST, install the pulley bolt.
SST 09213-70011 (09213-70020), 09330-00021
Torque 250 Nm (2,550 kgf-cm 184 ft. lbs.)