Curiosii for ever!: Car repair manuals for everyone.

CAN Communication System

TERMINALS OF ECU

NOTE: This describes the standard CAN values for all CAN related components.

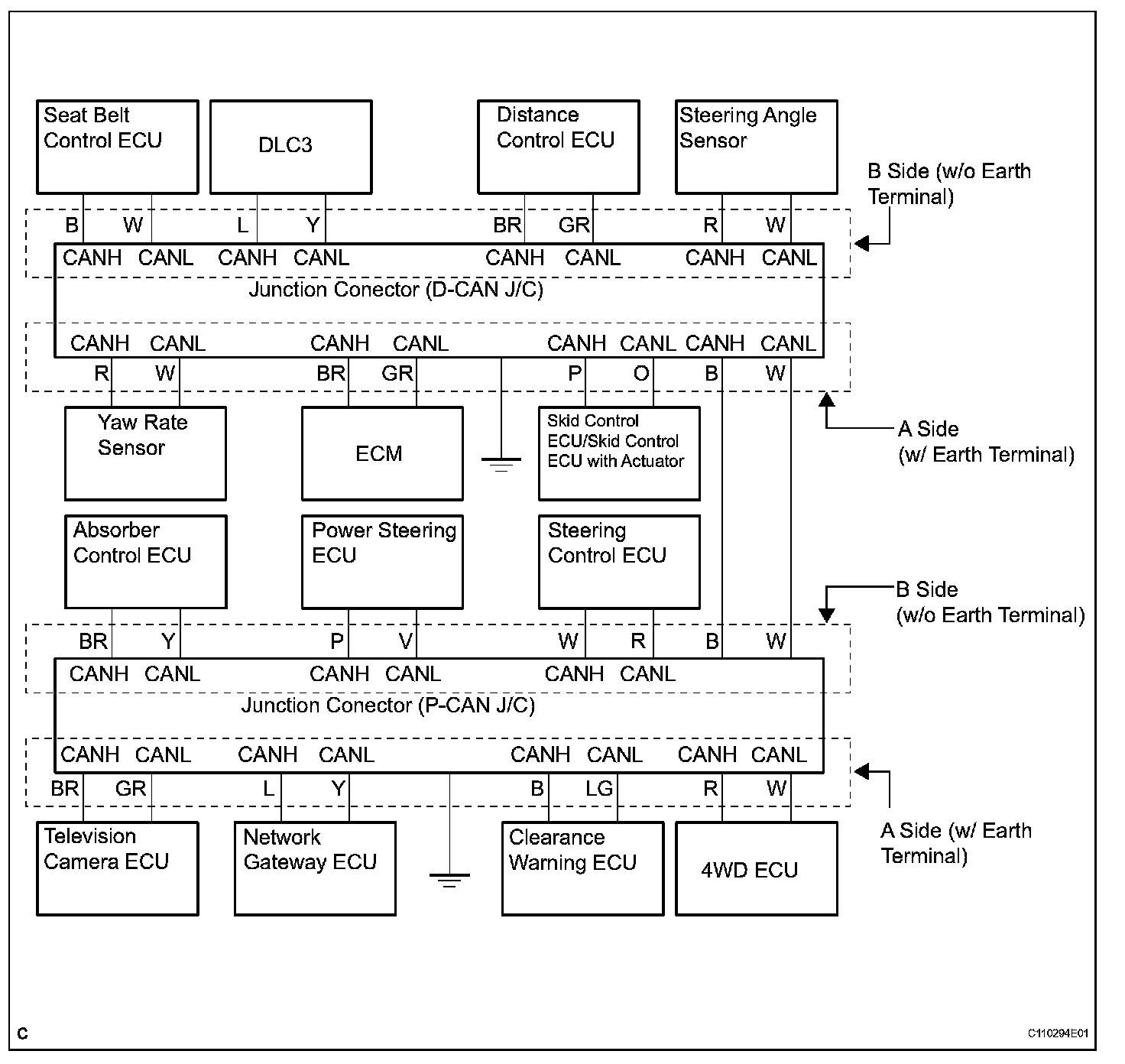
1. JUNCTION CONNECTOR










a. D-CAN J/C.

HINT:
- The connectors connected to the CAN J/C can be distinguished by the colors of the bus lines and the connecting side of the connector.
- The connectors can be connected to any terminals on the same side.










b. P-CAN J/C.

HINT:
- The connectors connected to the CAN J/C can be distinguished by the colors of the bus lines and the connecting side of the connector.
- The connectors can be connected to any terminals on the same side.







c. The terminals on connectors for the CAN J/C.




d. Wiring diagram for identifying CAN J/C connectors.

2. DLC3







a. Measure the resistance according to the value(s) in the table.

3. SKID CONTROL ECU







a. Measure the resistance according to the value(s) in the table (3UZ-FE).

4. SKID CONTROL ECU WITH ACTUATOR










a. Measure the resistance according to the value(s) in the table (3GR-FSE).

5. STEERING SENSOR







a. Measure the resistance according to the value(s) in the table.


6. YAW RATE SENSOR







a. Measure the resistance according to the value(s) in the table.

7. DISTANCE CONTROL ECU







a. Measure the resistance according to the value(s) in the table.

8. TELEVISION CAMERA ECU







a. Measure the resistance according to the value(s) in the table.

9. ECM







a. Measure the resistance according to the value(s) in the table.

10. SEAT BELT CONTROL ECU







a. Measure the resistance according to the value(s) in the table.

11. POWER STEERING ECU







a. Measure the resistance according to the value(s) in the table.

12. STEERING CONTROL ECU







a. Measure the resistance according to the value(s) in the table.

13. CLEARANCE WARNING ECU







a. Measure the resistance according to the value(s) in the table.

14. NETWORK GATEWAY ECU







a. Measure the resistance according to the value(s) in the table.

15. ABSORBER CONTROL ECU







a. Measure the resistance according to the value(s) in the table.

16. 4WD ECU







a. Measure the resistance according to the value(s) in the table.