Curiosii for ever!: Car repair manuals for everyone.

Windshield: Service and Repair

Windshield Glass:






REPLACEMENT

HINT: Installation is according to the reverse order of the removal.

1. REMOVE FR WIPER ARM RH
2. REMOVE FR WIPER ARM LH
3. REMOVE COWL TOP VENTILATOR LOUVER RH
4. REMOVE FRONT DOOR OPENING TRIM WEATHERSTRIP RH
5. REMOVE FRONT DOOR OPENING TRIM WEATHERSTRIP LH
6. REMOVE FRONT PILLAR GARNISH RH
7. REMOVE FRONT PILLAR GARNISH LH
8. REMOVE ASSIST GRIP SUB-ASSEMBLY
9. REMOVE RH VISOR ASSEMBLY
10. REMOVE LH VISOR ASSEMBLY
11. REMOVE ROOF CONSOLE BOX ASSEMBLY
12. REMOVE VISOR HOLDER RH
13. REMOVE VISOR HOLDER LH
14. REMOVE VANITY LAMP ASSEMBLY
15. REMOVE INNER REAR VIEW MIRROR ASSEMBLY
16. REMOVE RAIN SENSOR(W/ RAIN SENSOR)
17. REMOVE ROOF HEADLINING ASSEMBLY




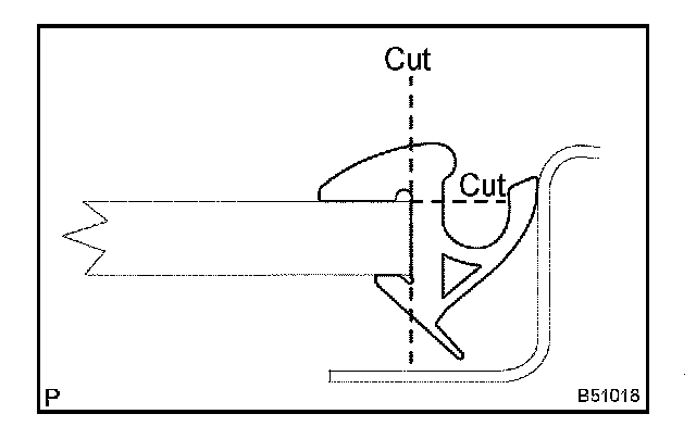
18. REMOVE WINDSHIELD MOULDING OUTER UPPER
a. Using a knife, cut off the moulding as shown in the illustration.

NOTE: Do not damage the body with the knife.

b. Remove the remaining moulding.

HINT: When removing, make a cut partly, pull and remove it by hand.




19. REMOVE WINDSHIELD GLASS

HINT: There is a case where a 1-piece type and a 2-piece type of stoppers are installed in a vehicle type.

a. Push a piano wire through between the body and glass from the interior.
b. Apply protective tape to the outer surface to keep the surface from being scratched.




c. Tie both wire ends to wooden blocks or similar objects.

NOTE:
- When working around the curtain shield airbag, be careful not to damage the airbag.
- When separating the glass, take care not to damage the paint and interior/exterior ornaments.
- To prevent the piano wire to be cut, do not cross it.

d. Cut the adhesive by pulling the piano wire around it.
e. Using a suction rubber, remove the glass.

NOTE: Leave as much adhesive on the body as possible when cutting off the glass.




20. CLEAN WINDSHIELD GLASS
a. Using a scraper, remove the damaged stoppers, dam and adhesive sticking to the glass.
b. Clean the outer circumference of the glass with white gasoline.

NOTE:
- Do not touch the glass after cleaning it.
- Be careful not to damage the body.

21. INSTALL WINDSHIELD GLASS STOPPER NO.1
a. Install 2 new windshield glass stoppers No.1 to the body.




22. INSTALL WINDSHIELD GLASS STOPPER NO.2
a. Coat the installation part of the stopper with Primer G.

NOTE:
- Dry the primer coating for 3 minutes or more.
- Do not apply too much primer.

b. Install 2 new windshield glass stoppers No.2 onto the glass as shown in the illustration.

A: 7.7 mm (0.303 in.)
B: 40.0 mm (1.575 in.)




23. INSTALL WINDSHIELD GLASS RETAINER
a. Install 2 new windshield glass retainers onto the glass as shown in the illustration.

24. INSTALL WINDOW GLASS ADHESIVE DAM
a. Coat the installation part of the window glass adhesive dam with Primer G.

NOTE:
- Dry the primer coating for 3 minutes or more.
- Do not apply too much primer.




b. Install a new window glass adhesive dam as shown in the illustration.

a: 7 mm (0.28 in.)
b: 35 mm (1.38 in.)




25. INSTALL WINDSHIELD GLASS
a. Clean and shape the contact surface of the vehicle's body
1. Using a knife, cut away any rough areas of the body.

HINT: Leave as much adhesive on the body as possible.

2. Clean the cut surface of the adhesive with a piece of shop rag saturated in cleaner.

b. Position the glass.
1. Using a suction rubber, place the glass in the correct position.
2. Check that all the contacting parts of the glass rim are perfectly even.
3. Place reference marks between the glass and body.

NOTE: Check that the stoppers are attached to the body correctly.

HINT: When reusing the glass, check and correct the reference mark's positions.

4. Remove the glass.

c. Coat the contact surface of the back door with Primer M.
d. Using a brush, coat the exposed part of the contact surface on the vehicle side with Primer M.

NOTE:
- Dry the primer coating for 3 minutes or more.
- Do not coat the adhesive with Primer M.
- Do not apply too much Primer.

e. Coat the contact surface of the glass with Primer G.
1. Using a brush or sponge, coat the edge of the glass and the contact surface with Primer G.

NOTE:
- Dry the primer coating for 3 minutes or more.
- Do not apply too much primer.







f. Apply adhesive.
1. Cut off the tip of the cartridge nozzle as shown in the illustration.

Part No. 08850-00801 or equivalent

HINT: After cutting off the tip, use all adhesive within the time described in the table.

2. Load the sealer gun with the cartridge.
3. Coat the glass with adhesive, as shown in the illustration.

a: 8 mm (0.31 in.)
b: 12 mm (0.47 in.)

g. Install the glass.
1. Using a suction rubber, position the glass so that the reference marks are alined, and press it in gently along the rim.

NOTE:
- Dry the primer coating for 3 minutes or more.
- Check that the stoppers are attached to the body correctly.
- Check the clearance between the body and glass.

2. Lightly press the glass front surface for close contact.
3. Using a scraper remove any excess or protruding adhesive.

HINT: Apply adhesive on the glass rim.

26. INSTALL WINDSHIELD MOULDING OUTER UPPER
a. Install a new windshield moulding to the windshield glass before the adhesive has hardened.
b. Hold the windshield glass in place securely with protective tape or equivalent until the adhesive has completely hardened.
c. Using a scraper, remove any excess or protruding adhesive before the adhesive has hardened.






NOTE: Take care not to drive the vehicle during the time described in the table.




27. INSTALL RAIN SENSOR(W/ RAIN SENSOR)
a. If reusing the rain sensor:
Install the new rain sensor tape.
1. Remove the used rain sensor tape from the windshield glass or rain sensor.
2. Stick the new rain sensor tape on the lens surface of the rain sensor indicated by the hatched line.

NOTE:
- Make sure that no dust nor finger print is not on the sheet surface.
- Stick the sheet so as not come out from the placing face.

b. Install the rain sensor.

NOTE:
- If reusing the windshield:
Check that the no rain sensor tape remains on the windshield after removing the rain sensor. In case the tape remains, remove the tape.
- Clean the glass face with a cloth, etc.

28. WATER-LEAK CHECK AND REPAIRMENT
a. Conduct a leak test after the adhesive has completely hardened.
b. Seal any leak with sealant.