Curiosii for ever!: Car repair manuals for everyone.

Overhaul

OVERHAUL







1. REMOVE GENERATOR PULLEY
SST 09820-63010 09820-06010, 09820-06020.

a. Hold SST (1-A) with a torque wrench, and tighten SST (1-B) clockwise to the specified torque.

Torque: 39 Nm (400 kgf.cm, 29 ft.lbf)

NOTE: Check that SST is secured to the rotor shaft.




b. Clamp SST (2) in a vise.
c. Insert SST (1-A, B) into SST (2), and attach the pulley nut to SST (2).




d. To loosen the pulley nut, turn SST (1-A) in the direction shown in the illustration.

NOTE: To prevent damage to the rotor shaft, do not loosen the pulley nut more than one-half turn.

e. Remove the generator from SST (2).




f. Turn SST (1-B) and remove SST (1-A, B).
g. Remove the pulley nut and generator pulley.




2. REMOVE GENERATOR REAR END COVER
a. Place the generator on the generator pulley.
b. Remove the 3 nuts and the generator rear end cover.




3. REMOVE TERMINAL INSULATOR
a. Remove the terminal insulator from the generator rectifier end frame.




4. REMOVE GENERATOR BRUSH HOLDER ASSEMBLY
a. Remove the 2 screws and the generator brush holder.




5. REMOVE GENERATOR COIL ASSEMBLY
a. Remove the 4 bolts.




b. Using SST, remove the generator rectifier end frame.
SST 09950-40011 (09951-04020, 09952-04010, 09953-04020, 09954-04010, 09955-04071, 09957-04010, 09958-04011)




6. REMOVE GENERATOR ROTOR ASSEMBLY
a. Remove the generator washer and the generator rotor.




7. INSPECT GENERATOR BRUSH HOLDER ASSEMBLY
a. Check the brush length.
1. Using a vernier caliper, measure the exposed brush length.
Specified brush length: 4.5 to 10.5 mm (0.177 to 0.413 in.)

If the exposed brush length is less than minimum, replace the generator brush holder.




8. INSPECT GENERATOR ROTOR ASSEMBLY
a. Check the bearing is not rough or worn. If necessary, replace the generator rotor.




b. Check the rotor for open circuit.
1. Using an ohmmeter, measure the resistance between the slip ring.
Standard: 2.3 to 2.7 Ohm at 20 °C (68 °F)

If the resistance is not as specified, replace the generator rotor.




c. Check the rotor for ground.
1. Using an ohmmeter, check the resistance between the slip ring and the rotor core.
Standard: 10 k Ohm or higher

If the resistance is not as specified, replace the generator rotor.

d. Inspect slip rings.
1. Check that the slip rings are not rough or scored. If rough or scored, replace the generator rotor.




e. Check the slip ring diameter.
1. Using a vernier caliper, measure the slip ring diameter.
Specified diameter: 14.0 to 14.4 mm (0.551 to 0.567 in.)

If the diameter is less than minimum, replace the generator rotor.




9. INSPECT GENERATOR DRIVE END FRAME BEARING
a. Check the bearing is not rough or worn. If necessary, replace the bearing.




10. REMOVE GENERATOR DRIVE END FRAME BEARING
a. Remove the 4 screws and the retainer plate.




b. Using SST, tap out the bearing.
SST 09950-60010 (09951-00250), 09950-70010 (09951-07100)




11. INSTALL GENERATOR DRIVE END FRAME BEARING
a. Using SST and a press, press in a new bearing.
SST 09950-60010 (09951-00470), 09950-70010 (09951-07100)




b. Install the retainer plate with the 4 screws.

Torque: 2.3 Nm (23 kgf.cm, 20 in.lbf)




12. INSTALL GENERATOR ROTOR ASSEMBLY
a. Place the generator drive end frame on the generator pulley.
b. Install the generator rotor and the generator washer.




13. INSTALL GENERATOR COIL ASSEMBLY
a. Using a deep socket wrench 21 and a press, press in the generator rectifier end frame carefully.




b. Tighten the 4 bolts.

Torque: 5.8 Nm (59 kgf.cm, 51 in.lbf)




14. INSTALL GENERATOR BRUSH HOLDER ASSEMBLY
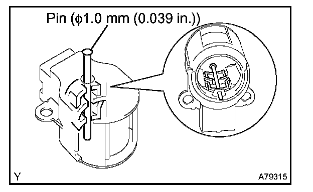
a. While pushing the 2 brushes to inside the brush holder, insert a pin (dia 1.0 mm 0.039 in.)) into the brush holder hole.




b. Install the generator brush holder with the 2 screws.

Torque: 1.8 Nm (18 kgf.cm, 16 in.lbf)

c. Pull out the pin (dia 1.0 mm 0.039 in.)) from the generator brush holder.




15. INSTALL TERMINAL INSULATOR
a. Place the generator drive end frame on the generator pulley.
b. Install the generator rotor and the generator washer.

NOTE: Pay attention the mounting orientation of the terminal insulator.




16. INSTALL GENERATOR REAR END COVER
a. Install the generator rear end cover with the 3 nuts.

Torque: 4.6 Nm (47 kgf.cm, 41 in.lbf)







17. INSTALL GENERATOR PULLEY
SST 09820-63010 09820-06010, 09820-06020.

a. Install the generator pulley to the rotor shaft by tightening the pulley nut by hand.
b. Hold SST (1-A) with a torque wrench, and tighten SST (1-B) clockwise to the specified torque.

Torque: 39 Nm (400 kgf.cm, 29 ft.lbf)

NOTE: Check that SST is secured to the rotor shaft.