Curiosii for ever!
: Car repair manuals for everyone.
Home
>>
Lexus
>>
2005
>>
SC 430 V8-4.3L (3UZ-FE)
>>
Repair and Diagnosis
>>
Starting and Charging
>>
Starting System
>>
Starter Relay
>>
Testing and Inspection
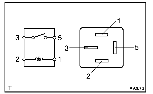
Starter Relay: Testing and Inspection
INSPECT RELAY (Marking: STARTER)
a.
Measure the resistance of the
STARTER relay
.
If the result is not as specified, replace the relay.