Curiosii for ever!: Car repair manuals for everyone.

Component Inspection

INSPECTION

1. INSPECT MASS AIR FLOW METER




a. Check the output voltage.
1. Apply battery voltage across terminals 1 (+B) and 2 (E2G).
2. Using a voltmeter, connect the positive (+) tester probe to terminal VG, and negative (-) tester probe to terminal E2G.
3. Blow air into the MAF meter, and check that the voltage fluctuates.




b. Measure the resistance between terminals 4 (THA) and 5 (E2).

2. INSPECT CAMSHAFT TIMING OIL CONTROL VALVE ASSEMBLY




a. Using an ohmmeter, measure the resistance between the terminals.

Standard: 6.9 to 7.9 Ohm at 20 °C (68 °F)




b. Connect the battery's positive (+) lead to terminal 1 and negative (-) lead to terminal 2. Check the movement of the valve.

3. INSPECT ACCELERATOR PEDAL ROD ASSEMBLY







a. Measure the resistance between the terminals.

4. INSPECT THROTTLE BODY ASSEMBLY







a. Measure the resistance between the terminals.

5. INSPECT ENGINE COOLANT TEMPERATURE SENSOR







a. Measure the resistance between the terminals.

NOTE: If checking the ECT sensor in the water, keep the terminals dry. After the check, wipe the sensor dry.

6. INSPECT KNOCK SENSOR




a. Using an ohmmeter, measure the resistance between the terminals.

Standard: 120 to 280 kOhm at 20 °C (68°F)

If the result is not as specified, replace the sensor.

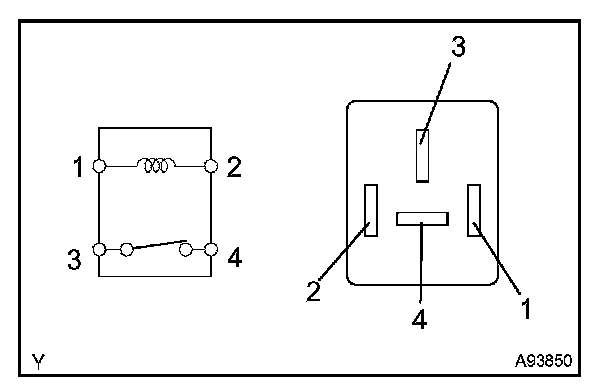
7. INSPECT RELAY (Marking: EFI MAIN, C/OPN)







a. Remove the EFI and C/OPN relays from the engine room R/B.
b. Measure the resistance of the relay.

8. INSPECT RELAY (Marking: F/PMP)







a. Remove the F/PMP relay from the engine room R/B.
b. Measure the resistance of the F/PMP relay.