Curiosii for ever!
: Car repair manuals for everyone.
Home
>>
Lexus
>>
2005
>>
LS 430 V8-4.3L (3UZ-FE)
>>
Repair and Diagnosis
>>
Powertrain Management
>>
Computers and Control Systems
>>
Main Relay (Computer/Fuel System)
>>
Testing and Inspection
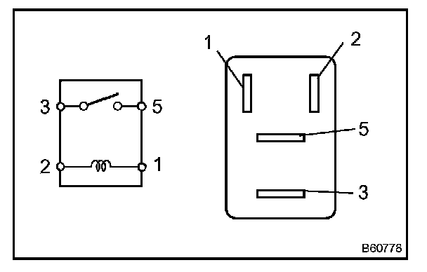
Main Relay (Computer/Fuel System): Testing and Inspection
INSPECT RELAY (Marking: EFI MAIN, C/OPN)
a.
Remove the EFI and C/OPN relays from the engine room R/B.
b.
Measure the resistance of the relay.