Curiosii for ever!: Car repair manuals for everyone.

CAN Communication System

TERMINALS OF ECU

HINT: This section describes the standard CAN values for all CAN related components.

1. JUNCTION CONNECTOR (D CAN J/C, P CAN J/C, LUG CAN J/C).

Terminals Of Control Module / Pinouts:







a. D CAN J/C.

HINT:
- The connectors connected to the CAN J/C can be distinguished by the colors of the bus lines and the connecting side of the connector.
- The connectors can be connected to any terminals on the same side.

Terminals Of Control Module / Pinouts:







b. P CAN J/C.

HINT:
- The connectors connected to the CAN J/C can be distinguished by the colors of the bus lines and the connecting side of the connector.
- The connectors can be connected to any terminals on the same side.

Terminals Of Control Module / Pinouts:







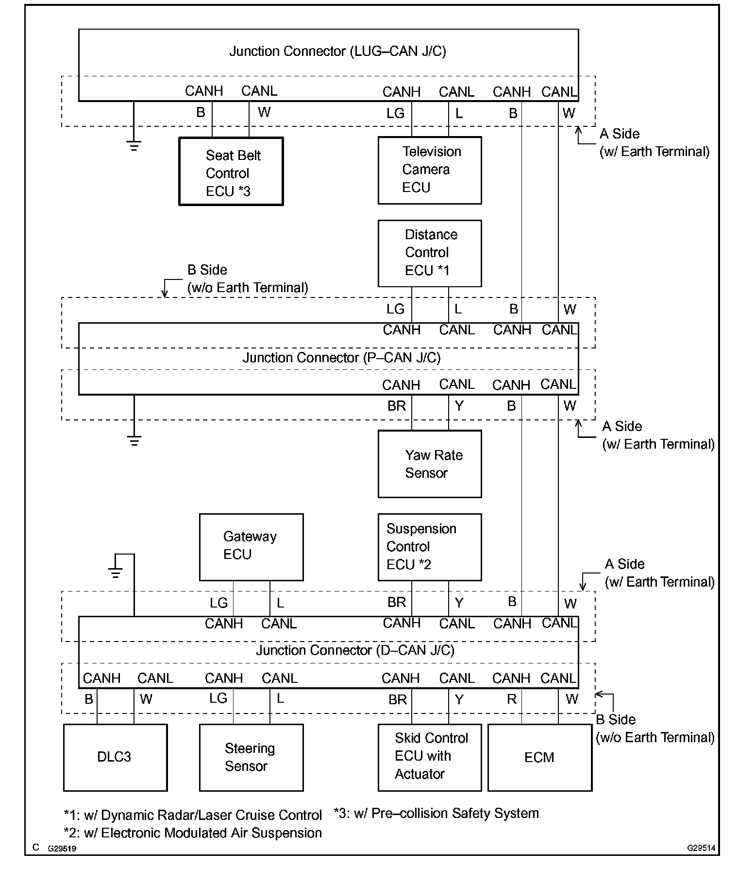
c. LUG-CAN J/C.

NOTE: The LUG CAN J/C is only mounted in vehicles with a LEXUS Navigation System.







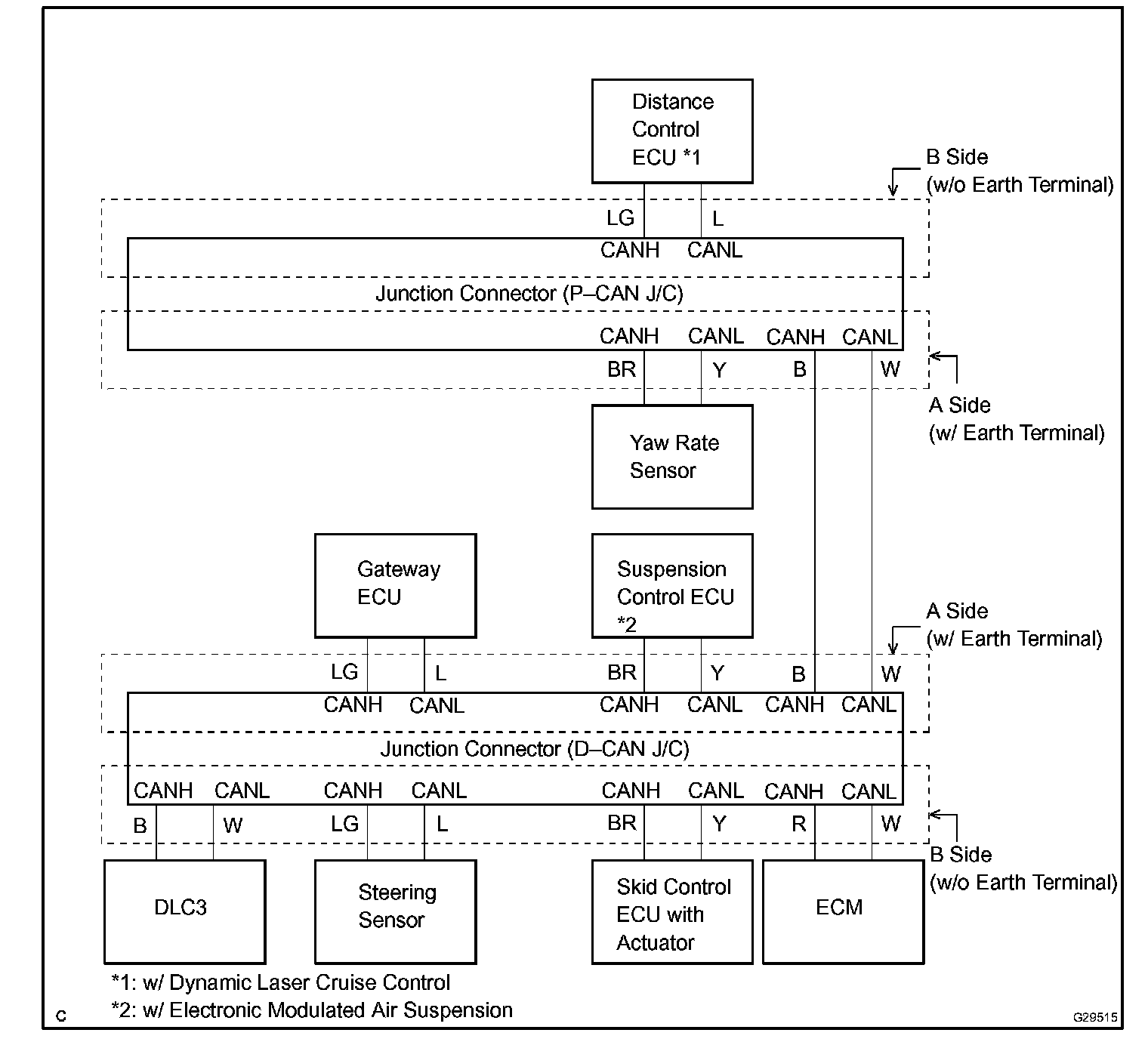
d. The terminals on connectors for the CAN J/C.




e. WIRING DIAGRAM FOR IDENTIFYING CAN J/C CONNECTORS
(w/ LEXUS Navigation System).




f. WIRING DIAGRAM FOR IDENTIFYING CAN J/C CONNECTORS
(w/o LEXUS Navigation System).

Terminals Of Control Module / Pinouts:




2. DLC3




a. Measure the resistance according to the value(s) in the table.

Terminals Of Control Module / Pinouts:




3. SKID CONTROL ECU




a. Measure the resistance according to the value(s) in the table.

Terminals Of Control Module / Pinouts:




4. STEERING SENSOR




a. Measure the resistance according to the value(s) in the table.

Terminals Of Control Module / Pinouts:




5. YAW RATE SENSOR




a. Measure the resistance according to the value(s) in the table.

Terminals Of Control Module / Pinouts:




6. DISTANCE CONTROL ECU




a. Measure the resistance according to the value(s) in the table.

Terminals Of Control Module / Pinouts:




7. TELEVISION CAMERA ECU




a. Measure the resistance according to the value(s) in the table.

Terminals Of Control Module / Pinouts:




8. ECM




a. Measure the resistance according to the value(s) in the table.

Terminals Of Control Module / Pinouts:




9. GATEWAY ECU




a. Measure the resistance according to the value(s) in the table.

Terminals Of Control Module / Pinouts:




10. SUSPENSION CONTROL ECU




a. Measure the resistance according to the value(s) in the table.

Terminals Of Control Module / Pinouts:




11. SEAT BELT CONTROL ECU




a. Measure the resistance according to the value(s) in the table.