Curiosii for ever!: Car repair manuals for everyone.

CAN Communication System

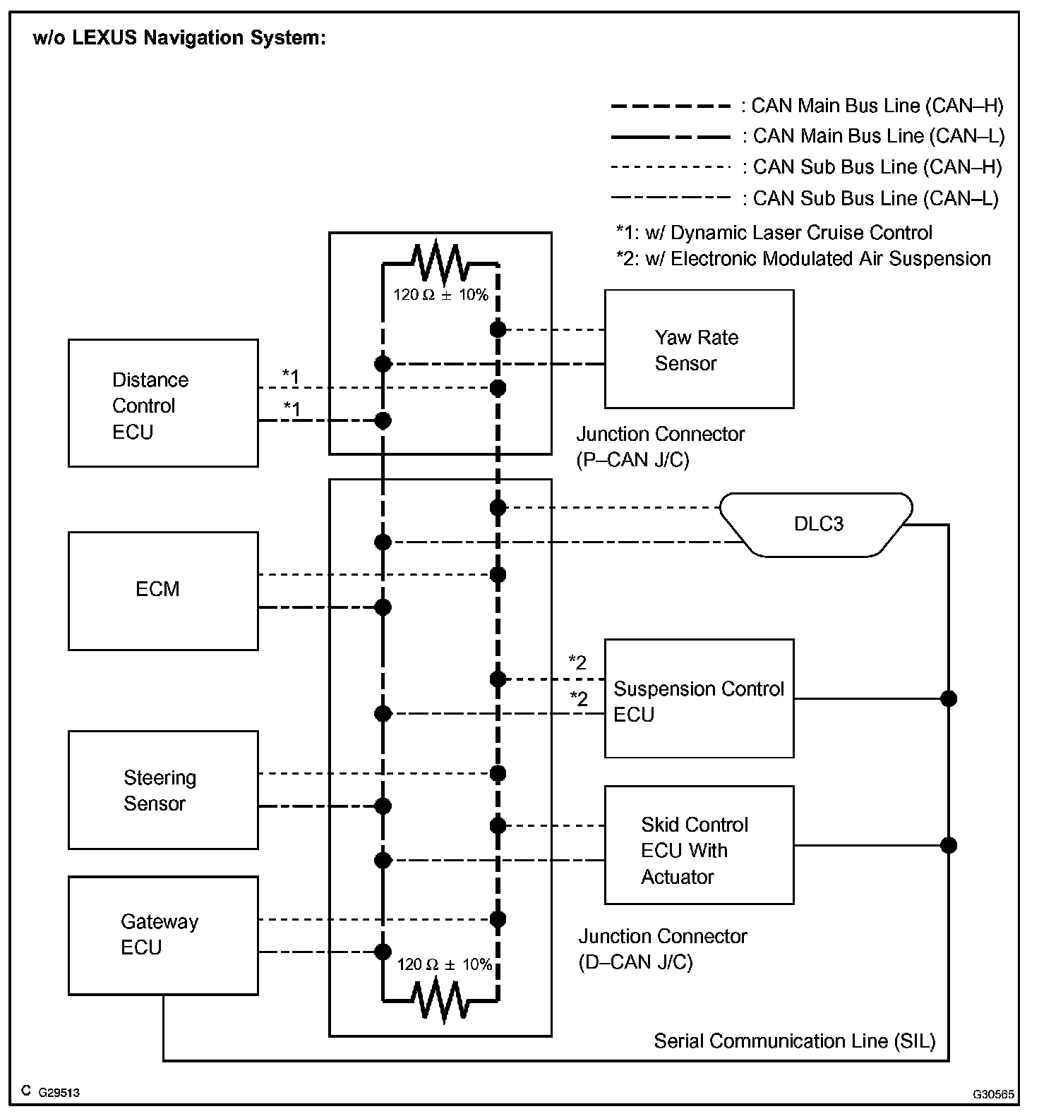
System Diagram:




System Diagram:






HINT:
- The position of the terminus circuit differs in vehicles with and without the LEXUS navigation system.
- The skid control ECU with actuator detects and stores steering sensor and yaw rate sensor DTCs and performs DTC communication by receiving information from the steering sensor and yaw rate sensor.
- The ECM detects and stores distance control ECU DTCs, and performs DTC communication by receiving information from the distance control ECU.
- The ECM uses the CAN communication system to perform DTC communication instead of the conventional communication line (SIL).

SYSTEM DESCRIPTION

1. BRIEF DESCRIPTION

a. The CAN (Controller Area Network) is a serial data communication system for real time application. It is a multiplex communication system equipped for a vehicle and has a high communication speed (500 kbps) and the function to detect malfunctions.
b. By pairing the CANH and CANL bus lines, the CAN performs communication based on differential voltage.
c. Many ECUs (sensors) installed on the vehicle operate by sharing information and communicating with each other.
d. The CAN has two resistors of 120 Ohm which are necessary to communicate with the main bus line.

2. DEFINITION OF TERMS

a. Main bus line
1. The main bus line is the wire harness between the two terminus circuits on the bus (communication line). This is the main bus in the CAN communication system.

b. Sub bus line
1. The sub bus line is the wire harness which diverges from the main bus line to the ECU or sensor.

c. Terminus circuit
1. The terminus circuit is a circuit which is placed to convert communication current of the CAN communication into bus voltage. It consists of a resistor and condenser. Two terminus circuits are necessary on a bus.

d. CAN J/C
1. The CAN J/C is a junction designed for CAN communication, which stores a terminus circuit.

3. ECUs OR SENSORS WHICH COMMUNICATE THROUGH CAN COMMUNICATION SYSTEM

a. Skid Control ECU with Actuator
b. Yaw Rate Sensor
c. Steering Sensor
d. Television Camera ECU
e. Seat Belt Control ECU
f. Distance Control ECU
g. Suspension Control ECU
h. ECM
i. Gateway ECU

4. DIAGNOSTIC CODE FOR CAN COMMUNICATION SYSTEM

a. DTCs for the CAN communication system are as follows:
U0073, U0100, U0101, U0122, U0123, U0124, U0126, U0132, U0145, U1101

5. REMARK FOR TROUBLESHOOTING

a. Trouble in the CAN bus (communication line) can be checked from the DLC3 (except when there is a wire break other than in the sub bus line of the DLC3).

NOTE: Do not insert the tester directly into the DLC3 connector. Be sure to use a service wire.

b. DTCs regarding the CAN communication system can be checked using the hand-held tester via the CAN VIM.
c. The CAN communication system cannot detect trouble in the sub bus line of the DLC3 even though the DLC3 is also connected to the CAN communication system.

6. HOW TO DISTINGUISH THE CAN J/C CONNECTOR

a. In the CAN communication system, the shape of all connectors connected to the CAN J/C is the same. The connectors connected to the CAN J/C can be distinguished by the colors of the bus lines and the connecting side of the connector.

HINT: See "TERMINALS OF ECU" for bus line color or the type of connecting surface.