Curiosii for ever!: Car repair manuals for everyone.

Dynamic Laser Cruise Control System

TERMINALS OF ECU

Terminals Of Control Module / Pinouts:




1. DISTANCE CONTROL ECU

Oscilloscope Waveform:




a. Reference: waveform 1

HINT:
- Terminal: LRDD - GND
- Gauge set: 2 V/DIV, 10 ms/DIV
- Condition: Ignition switch ON

Oscilloscope Waveform:




b. Reference: waveform 2

HINT:
- Terminal: LRRD - GND
- Gauge set: 2 V/DIV, 5 ms/DIV
- Condition: Ignition switch ON

Terminals Of Control Module / Pinouts:




2. ECM

If the value is not within the standard range, some defects on the vehicle are suspected.

Terminals Of Control Module / Pinouts:




3. LASER SENSOR

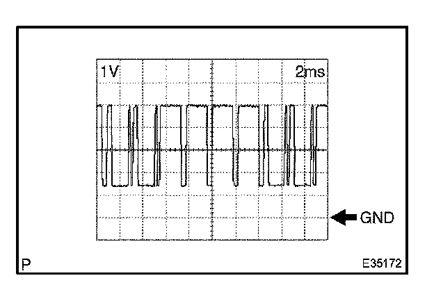
Oscilloscope Waveform:




a. Reference: waveform 1

HINT:
- Terminal: LRDD - SGND
- Gauge set: 1 V/DIV, 2 ms/DIV
- Condition: Ignition switch ON

Oscilloscope Waveform:




b. Reference: waveform 2

HINT:
- Terminal: LRRD - SGND
- Gauge set: 1 V/DIV, 2 ms/DIV
- Condition: Ignition switch ON