Curiosii for ever!: Car repair manuals for everyone.

System Relay: Testing and Inspection

RELAY

INSPECTION







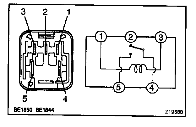
1. INSPECT HEATER MAIN RELAY (Marking: HTR) CONTINUITY
If continuity is not as specified, replace the relay.







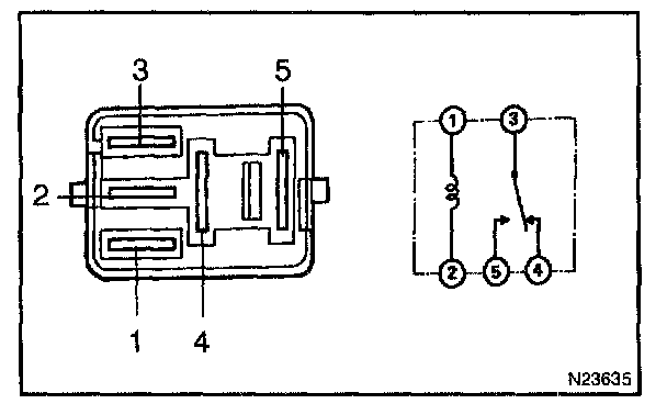
2. INSPECT MAGNETIC CLUTCH RELAY (Marking: A/C COMP) CONTINUITY
If continuity is not as specified, replace the relay.







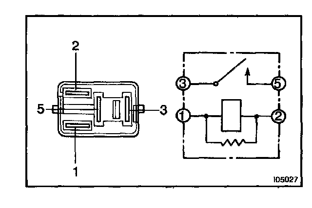
3. INSPECT No. 2 COOLING FAN RELAY (Marking: FAN NO. 2) CONTINUITY
If continuity is not as specified, replace the relay.

4. INSPECT No. 3 COOLING FAN RELAY (Marking: FAN NO. 3) CONTINUITY
Check the relay in the same way as for "MAGNETIC CLUTCH RELAY".