Curiosii for ever!: Car repair manuals for everyone.

Component Inspection

INSPECTION
1. INSPECT VENTILATION VALVE SUB-ASSY
(a) Check the operation.





(1) Install a clean hose as shown in the illustration.
(2) Blow air into the cylinder head side, then check that air passes through easily.

CAUTION: Do not suck air through the ventilation valve. Petroleum substances inside the ventilation valve are harmful.





(3) Blow air into the intake manifold side, then check that air passes through with difficulty.
If the operation is not as specified, replace the ventilation valve.





2. INSPECT FUEL TANK CAP ASSY

(a) Check the appearance.
(1) Visually check if the fuel tank cap and gasket are deformed or damaged.
If necessary, replace the fuel tank cap.






3. INSPECT CHARCOAL CANISTER ASSY
(a) Check the appearance.
(1) Visually check the charcoal canister to see if the indicated portions by the arrows are cracked or damaged.
If necessary, replace the charcoal canister.

(b) Check the operation.





(1) While holding the purge port closed, blow air (0.39 kPa (4.0 gf/cm2, 0.06 psi)) into the vent port, then check that the air flows from the air inlet port.
If the operation is not as specified, replace the charcoal canister.





(2) While holding the air inlet port closed, blow air (0.39 kPa (4.0 gf/cm2, 0.06 psi)) into the vent port, then check that the air flows from the purge port.
If the operation is not as specified, replace the charcoal canister.





(3) While holding the air inlet port closed, apply vacuum (3.43 kPa (25.7 mm/Hg, 1.01 in.Hg)) to the vent port, then check that the air is sucked from the purge port.
If the operation is not as specified, replace the charcoal canister.





(c) Check the air tightness.
(1) While holding the vent and air inlet ports closed, apply vacuum (3.43 kPa (25.7 mmHg, 1.01 in.Hg)) to the purge port, then check that the vacuum is maintained for 1 minute.

HINT: In order to maintain air tightness, the check should be performed with the VSV (for CCV) terminal port held closed by your finger.

If the operation is not as specified, replace the charcoal canister.

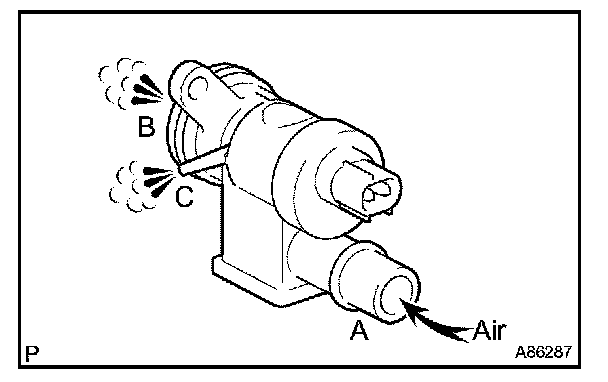
(d) Inspect the diaphragm.





(1) Remove the air hose.





(2) While holding the vent, purge and air inlet ports closed, apply vacuum (1.42 kPa (11 mmHg, 0.42 in.Hg)) into port A, then check that the air is sucked from port B.
If the operation is not as specified, replace the charcoal canister.





(3) While holding the vent, purge and air inlet ports closed, apply vacuum (1.42 kPa (11 mmHg, 0.42 in.Hg)) into port A, then measure how long it takes for vacuum to drop.
Vacuum drop time: 10 seconds or longer
If the operation is not as specified, replace the charcoal canister.

(4) Reinstall the air hose.





(e) Disconnect the air hose.
(f) Remove the 2 bolts, then remove the VSV.








(g) Inspect the resistance.
(1) Using an ohmmeter, measure the resistance between the terminals.
If the resistance is not as specified, replace the charcoal canister.

(h) Check the operation.





(1) Check that air flows from port A to B and C.





(2) Apply battery voltage across the terminals.
(3) Check that the valve is closed.





(4) Check that air does not flow from port A to B.
(5) Check that air flows from port A to C.
If the operation is not as specified, replace the charcoal canister.

(i) Install the VSV with the 2 bolts.
(j) Connect the air hose.

4. INSPECT VACUUM SWITCHING VALVE ASSY NO.1








(a) Inspect the resistance.
(1) Using an ohmmeter, measure the resistance between the terminals.
If the resistance is not as specified, replace the vacuum switching valve No.1.





(b) Check the operation.
(1) Check that air does not flow from port E to F.





(2) Apply battery voltage across the terminals.
(3) Check that air flows from port E to F.
If the operation is not as specified, replace the vacuum switching valve No.1.

5. INSPECT AIR FUEL RATIO SENSOR








(a) Inspect the resistance.
(1) Using an ohmmeter, measure the resistance between the terminals.
If the resistance is not as specified, replace the air fuel ratio sensor.

(b) Check the continuity.
(1) Using an ohmmeter, check that there is no continuity between terminals 2 (+B) and 4 (AF-).
If there is continuity, replace the air fuel ratio sensor.

6. INSPECT HEATED OXYGEN SENSOR








(a) Inspect the resistance.
(1) Using an ohmmeter, measure the resistance between the terminals.
If the resistance is not as specified, replace the heated oxygen sensor.

(b) Check the continuity.
(1) Using an ohmmeter, check that there is no continuity between terminals 1 (HT) and 4 (E).
If there is continuity, replace the heated oxygen sensor.

7. INSPECT AIR FUEL RATIO SENSOR HEATER RELAY








(a) Inspect the resistance.
(1) Using an ohmmeter, measure the resistance between the terminals.
If the result is not as specified, replace the air fuel ratio sensor heater relay.