Curiosii for ever!
: Car repair manuals for everyone.
Home
>>
Lexus
>>
2004
>>
GS 430 V8-4.3L (3UZ-FE)
>>
Repair and Diagnosis
>>
Cruise Control
>>
Testing and Inspection
>>
Symptom Related Diagnostic Procedures
>>
Control Switch Circuit (Cruise Control Switch)
Control Switch Circuit (Cruise Control Switch)
CIRCUIT DESCRIPTION
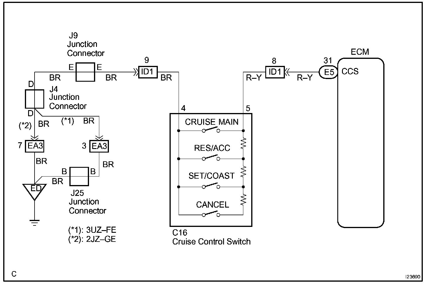
This circuit carries the SET/COAST, RESUME/ACCEL and CANCEL signals (each voltage) to the ECM.
Wiring Diagram:
Step 1:
Step 2:
Step 3 - 5:
INSPECTION PROCEDURE