Curiosii for ever!
: Car repair manuals for everyone.
Home
>>
Lexus
>>
2004
>>
GS 300 L6-3.0L (2JZ-GE)
>>
Repair and Diagnosis
>>
Body and Frame
>>
Body Control Systems
>>
Testing and Inspection
>>
Symptom Related Diagnostic Procedures
>>
Driver Door Control System
>>
Symptom Diagnostic Procedures
>>
Power Window Master Switch Circuit
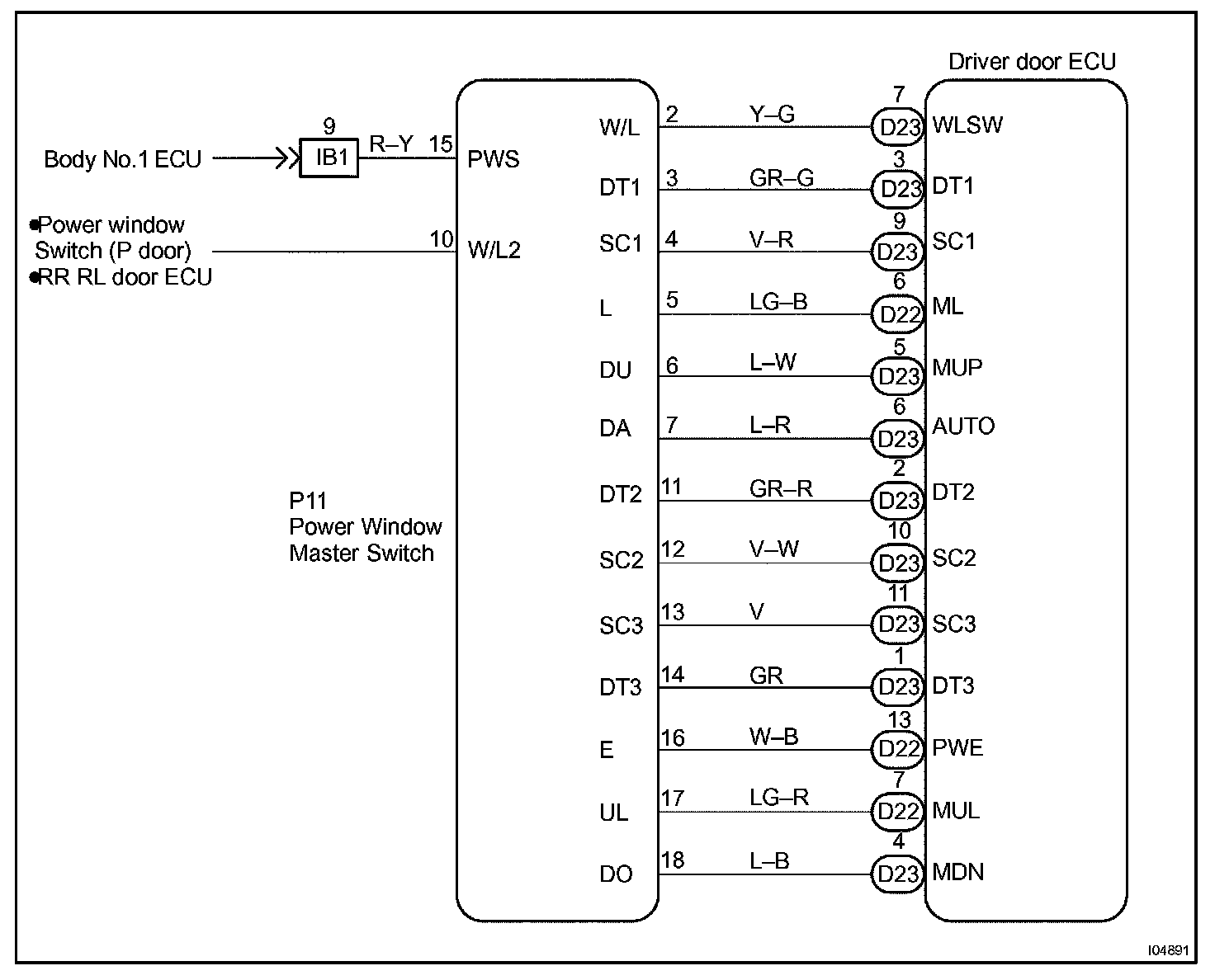
Power Window Master Switch Circuit
CIRCUIT DESCRIPTION
Power window master switch circuit can be checked using DTC check.
Wiring Diagram:
Step 1 - 3:
INSPECTION PROCEDURE