Curiosii for ever!: Car repair manuals for everyone.

Component Tests and General Diagnostics

INSPECTION







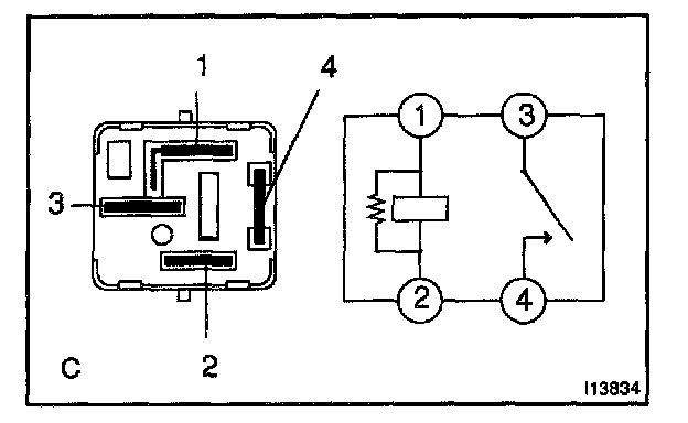
1. INSPECT HEADLIGHT CONTROL RELAY CONTINUITY
If continuity is not as specified, replace the relay.








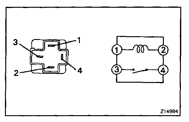
2. INSPECT TAILLIGHT CONTROL RELAY CONTINUITY
If continuity is not as specified, replace the relay.







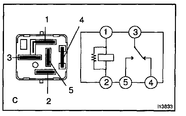
3. INSPECT HEADLIGHT DIMMER RELAY CONTINUITY
If continuity is not as specified, replace the relay.




4. AUTO ON:
INSPECT AUTOMATIC LIGHT CONTROL
a. Turn the ignition switch ON.
b. Turn the light control switch to AUTO.
c. Gradually cover the top of the sensor.
d. Verify that the lights should turn ON the accessory lights and the headlights.




5. AUTO OFF:
INSPECT AUTOMATIC LIGHT CONTROL
a. Gradually expose the sensor.
b. Verify that the lights should turn OFF the headlights and the accessory lights.

6. INSPECT LIGHT-OFF CONDITION
a. Turn the ignition switch ON.
b. Lights auto ON:
Gradually cover the top of the sensor.
c. Verify that the lights will go out when light control switch position OFF or the area surrounding the sensor gets bright or open the driver's door while the ignition switch is OFF.

7. INSPECT LIGHTS-ON CONDITION
a. Open the driver's door while the ignition switch is OFF.
b. Turn the light control switch to AUTO leaving the door open and cover the top of the sensor, and verify that the lights go on when the ignition switch is turned ON.







8. Connector disconnected:
INSPECT AUTOMATIC LIGHT CONTROL SENSOR CIRCUIT
Disconnect the connector from the sensor and inspect the connector on the wire harness side, as shown in the chart.
If circuit is as specified, perform the inspection.
If the circuit is not as specified, inspect the circuit connected to other parts.







9. Connector connected:
INSPECT AUTOMATIC LIGHT CONTROL SENSOR CIRCUIT
Connect the wire harness side connector to the sensor and inspect wire harness side connector from the back side, as shown.

HINT:
- Ignition switch ON.
- Light control switch AUTO.
- Vehicle's surroundings are bright.

If circuit is as specified, inspect the circuit.
If the circuit is not as specified, try replacing the sensor with a new one.