Curiosii for ever!: Car repair manuals for everyone.

Power Mirror Position Switch/Sensor: Testing and Inspection




W/ Driving position memory only:
INSPECT MIRROR POSITION SENSORS OPERATION

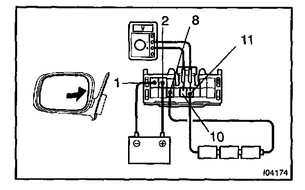
HINT: Strip off the vinyl tape of the connector and remove terminals 1, 2, 6, 8, 9,10 and 11 from the connector housing.

a. Connect a series of three 1.5 V dry cell batteries.
b. Connect the positive (+) lead from the dry cell batteries to terminal 8 and the negative (-) lead to terminal 11.
c. Connect the positive (+) lead from the voltmeter to terminal 9 and the negative (-) lead to terminal 11.







d. Apply battery positive voltage to terminals 2 and 6, then check that the voltage gradually changes according to the table below while the mirror moves between the uppermost position and lowermost position.
If voltage value is not as specified, replace the motor assembly.







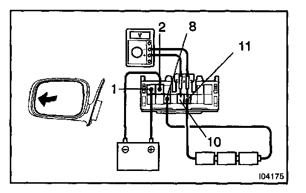
e. Disconnect the 4 leads of the battery and voltmeter.
f. Connect the positive (+) lead from the voltmeter to terminal 10 and negative (-) lead to terminal 11.




g. Apply battery positive voltage to terminals 1 and 2, then inspect that the voltage gradually changes according to the table below while the mirror moves between the left-most position and right-most position.
If voltage value is not as specified, replace the motor assembly.

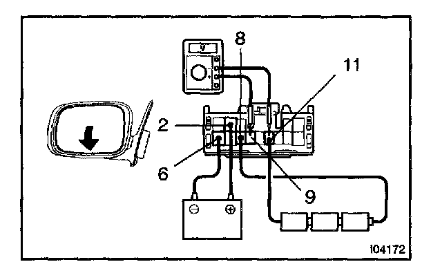
w/ Driving position memory only:
INSPECT MIRROR POSITION SENSORS CIRCUIT
Left side:
Right side