Curiosii for ever!: Car repair manuals for everyone.

Pattern Select Switch Circuit

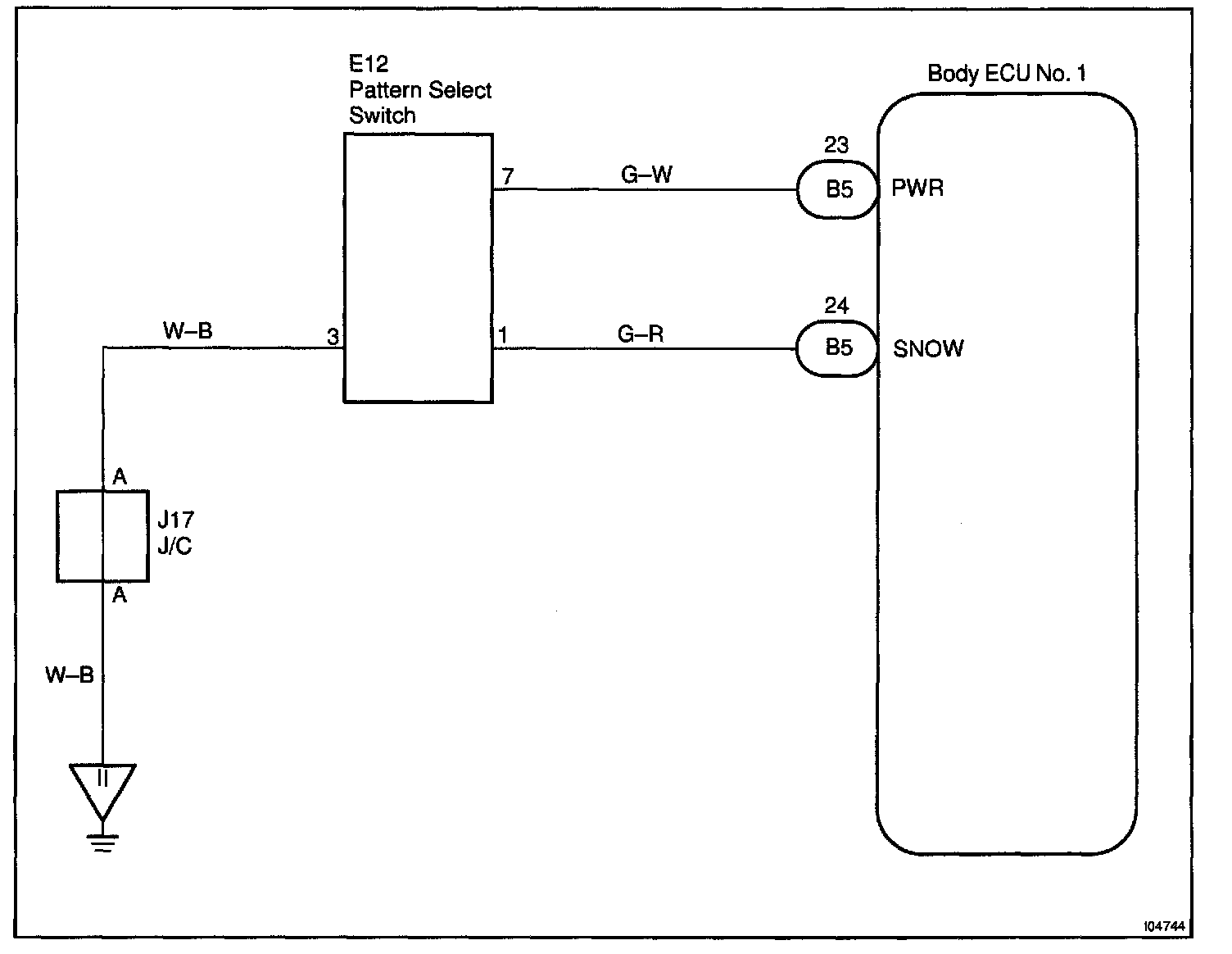
Pattern select switch circuit

CIRCUIT DESCRIPTION
Body ECU No.1 detect the state of pattern select switch.

Wiring Diagram:






Step 1 - 3:




INSPECTION PROCEDURE

HINT: In case of using the hand-held tester, start the inspection from step 1 and in case of not using the hand-held tester, start from step 2.