Curiosii for ever!: Car repair manuals for everyone.

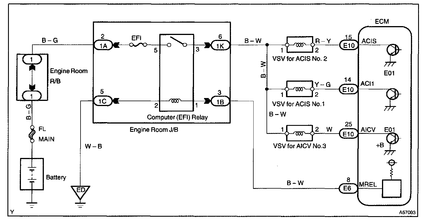
ACIS Control Circuit

CIRCUIT DESCRIPTION




This circuit is opens and closes the Intake Air Control Valve in response to the engine load in order to increase the intake efficiency (ACIS: Acoustic Control Induction System).

When the engine speed is 4,100 rpm or less and the throttle valve opening angle is 30 ° or more, the ECM turns the two VSV ON or OFF and operate the Intake Air Control Valve.

Wiring Diagram:






INSPECTION PROCEDURE

Step 1 - 3:




Hand-held Tester

Step 1:




Step 2 - 3:




OBD II scan tool (excluding Hand-held Tester)