Curiosii for ever!: Car repair manuals for everyone.

Oxygen Sensor: Testing and Inspection

INSPECTION


OXYGEN SENSOR
OXYGEN NO.2 SENSOR




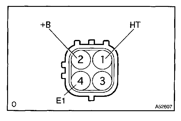
Resistance:




a. Using an ohmmeter, measure the resistance between the terminals.

If the resistance is not as specified, replace the sensor.

AIR FUEL RATIO SENSOR




Resistance:




a. Using an ohmmeter, measure the resistance between the terminals.

If the resistance is not as specified, replace the sensor.