Curiosii for ever!: Car repair manuals for everyone.

Component Tests and General Diagnostics

INSPECTION







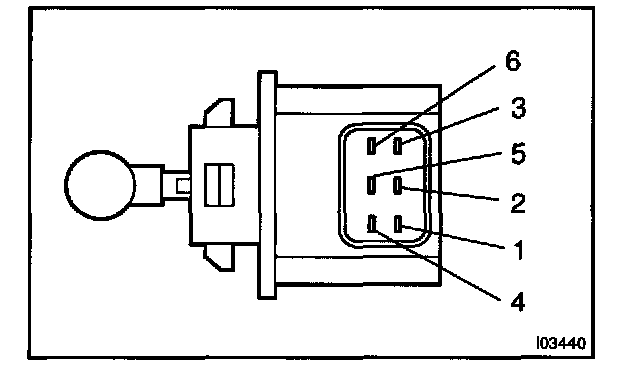
1. INSPECT HEADLIGHT BEAM LEVEL CONTROL ACTUATOR RESISTANCE
a. Check that continuity exists between terminal 2 and 5.
b. Check that resistance exists between terminal, as shown in the chart.
If resistance value is not as specified, replace the actuator.







2. Connector disconnected:
INSPECT HEADLIGHT BEAM LEVEL CONTROL ECU CIRCUIT
Disconnect the connector from the ECU and inspect the connector on the wire harness side, as shown.
If circuit is not as specified, perform the inspection.







3. Connector connected:
INSPECT HEADLIGHT BEAM LEVEL CONTROL ECU CIRCUIT
Connect the connector from the ECU and inspect the connector on the back side, as shown in the chart.
If the circuit is not as specified, replace the ECU.