Curiosii for ever!: Car repair manuals for everyone.

Distance Sensor: Adjustments

Laser Beam Axis Adjustment (With Radar Cruise Control Vehicle)


HINT: In case of installing, removing and changing the laser radar sensor in the accident or in the trouble diagnosis, be sure to adjust the laser beam axis.

1. LASER BEAM AXIS ADJUSTMENT (with Radar Cruise Control Vehicle)

HINT: Prepare a piece of thick black paper, string of about 10 m long, string with a sharp-pointed weight, and a 5 m tape measure.






NOTE:
- Perform the adjustment in the place where the space shown in the illustration can be secured in front of the vehicle and the indoor place with a flat ground.
- Make sure there is nothing to reflect in the surroundings and on the ground in the area shown in the illustration.
- If this is the case that you can not secure the distance of about 9 m in front of the vehicle, be sure to secure the least of 7 m from the vehicle, and cover the things shown in the area of figure [A] with black cloths. If not covered with a black cloths, the laser radar senor may detect other than the target and you will fail to adjust properly.

CAUTION:
- The intensity of the laser light might be too low to inflict bodily injury. However during adjustment, do not stare the luminous portion of the laser radar for a long time.
- Use of controls, adjustments or performance of procedures other than those specified here in may result in hazardous radiation exposure.

a. Preparation before adjusting the laser beam axis
1. Adjust the tire pressure properly.
2. Buggages in the vehicle such as in the trunk should be unburdened.
3. Remove the garnish to make the laser beam axis bolt visible.
4. Clean up the luminous and light-receiving portion of the laser radar sensor.




b. Making of the masking paper
1. Prepare a piece of thick black paper.
2. Cut the paper as the size shown below and make the masking paper for the light-receiving portion of the laser radar sensor.

NOTE: The 6 mm hole should be inside the dotted line of the 8 mm hole.

HINT: This mask is for the extinction of the laser radar sensor at the light-receiving portion.




c. Pasting the mask paper
Paste the mask paper you made on the laser radar sensor with a tape.

NOTE:
- Match the edges (upper and left) of the luminous portion of the laser radar sensor with the cutout of the mask paper.
- Be sure not to make a lifting at the opening of the light-receiving portion.
- Do not paste the tape on the lenses of the luminous and light-receiving portions.




d. Reflector (SST) placement
1. Measure the center height of the laser radar luminous portion, and adjust the center height of the reflector as high as this.

SST 09870-50011

NOTE:
- Do this as precisely as possible.
- In case of the vehicle with the air suspension, turn the ignition switch ON, then adjust after checking the stable vehicle height.

2. From the center (center of the emblem) of the front and rear bumper, hang down the sharp-pointed weight and mark the center of the vehicle precisely on the ground. (Both front and rear)




3. Using strings and a tape measure, put a mark on the line that links the two front and rear points marked in the step (2) at the place 5 m from the front of the vehicle.






HINT: As shown in the illustration, fix the end of the strings at the rear mark and from the place 5 m from the front of the vehicle, move the other end of the cord to the right and left and make a straight line by laying the strings on the front mark.

4. From the marked position, measure 372 mm to the right at a right angle and place the reflector here

NOTE: Do this as precisely an possible.




e. Confirmation of the target

HINT: This is the operation to confirm whether or not the laser radar is aiming the reflector (SST) correctly.

1. Turn the cruise control main switch ON.
2. Connect LEXUS hand-held tester to DLC3, and put the power ON.
3. Operate by following the screen and select "BEAM AXIS ADJUST" of the Cruise Control, then press "ENTER".

HINT:
- Pressing "ENTER" will make ECM transfer to BEAM AXIS
ADJUSTMENT MODE.
- When ECM transfer to BEAM AXIS ADJUSTMENT MODE, the buzzer beeps for 3 seconds.

4. After confirming the current gap of the radar beam, move the reflector (SST) to the right or the left by 0.5 m and check that the right or left values change about ± 5.7 °

NOTE: In case that the values will not change, there is a possibility that the laser radar sensor aims something different due to the gap of the direction of the laser radar sensor to a great extent, so check the installation condition of the laser radar sensor.

f. Measurement of the Beam Axis Gap
Replace the reflector to the original position and read the gap amount.




Standard:

HINT: Both gaps of UP/DOWN SIDE and RIGHT/LEFT SIDE are 0 ° no need of adjustment.







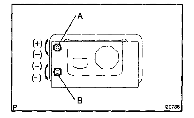
g. Beam Axis Adjustment
In case that the beam axis gaps, adjust it to make both UP/DOWN SIDE and RIGHT/LEFT SIDE 0o by turning the adjust bolt of the laser radar sensor.

HINT:
- When adjusting, adjust RIGHT/LEFT SIDE first, then adjust UP/DOWN SIDE.
- As for UP/DOWN SIDE, first gap toward UP SIDE, then adjust by lowering to DOWN SIDE.
- If it can hardly be adjusted to 0 °, there is a possibility that aiming is on something other than the reflector, reconfirm if there is anything to reflect in the surroundings. If there is something, cover it with black cloths.

h. Reset of the beam axis correction
In order to reset the beam axis correction, cover the luminous portion of the laser radar with a white paper for more than 10 seconds after having adjusted the beam axis.

HINT:
- The laser radar sensor has the function to correct the gap even if the beam axis is deviated. In case of adjusting the beam axis, it is necessary to reset this correction.
- When the reset is completed, the buzzer beeps for 10 seconds and displays "LEFT 6.3 UP 6.3" and "RIGHT 6.3, DOWN 6.3" on LEXUS hand-held tester screen alternately for 10 seconds.

i. Reconfirmation of the target
Move the reflector (SST) to the right or left by 0.5 m and check that the right or left values change about ± 5.7 °.

HINT: This, as well as (e), is also the operation to confirm whether or not the laser radar is aiming the reflector (SST) correctly. If you are not able to reconfirm the change of about ± 5.7 °, there is a possibility that the beam axis adjustment in the step (g) has been done aiming other than the reflector (SST), so, repeat the operation from (e)"Confirmation of the target".

2. SWITCHING OPERATION OF THE CRUISE CONTROL SYSTEM (with Radar Cruise Control Vehicle)

NOTE: In case of changing the ECM on the vehicle with Radar Cruise Control, the following operations are necessary to switch the control for the radar cruise control.

a. After turning the ignition switch ON, turn the cruise control main switch ON.
b. Check "RADAR READY" is displayed on the multi-information display.
c. While depressing the brake pedal, turn the cruise control switch ON to RES/ACC direction 3 times or more within 3 seconds.

HINT: When being switched to the control with the radar cruise control, the buzzer beeps.

d. Using LEXUS hand-held tester, check "R/C OPTION FLAG" of the data list shown "YES".

NOTE: If performing the above operation on the vehicle without the radar cruise control, the ECM is detecting the DTC related to the radar cruise control.
Therefore, if performing this operation on the vehicle without the radar cruise control by mistake, it is necessary to initialize the ECM.
Using the LEXUS hand-held tester, perform "RADAR CRUISE INI" of the cruise control.
Then, check that the "R/C OPTION FLAG" of the data list indicates "NO".