Power Mirror Control System
w/ Driving position memory only:
INSPECT MIRROR POSITION SENSORS OPERATION
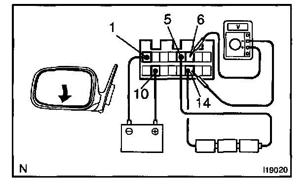
HINT: Strip off the vinyl tape of the connector and remove terminals 1, 5, 6, 9,10,13 and 14 from the connector housing.
a. Connect a series of three 1.5 V dry cell batteries.
b. Connect the positive (+) lead from the dry cell batteries to terminal 5 and the negative (-) lead to terminal 14.
c. Connect the positive (+) lead from the voltmeter to terminal 6 and the negative (-) lead to terminal 14.
d. Apply battery positive voltage to terminals 1 and 10, then check that the voltage gradually changes according to the table below while the mirror moves between the uppermost position and lowermost position.
If voltage value is not as specified, replace the motor assembly.
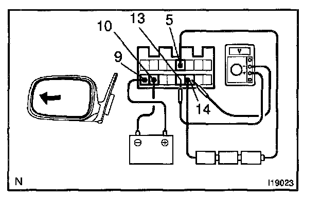
e. Disconnect the 4 leads of the battery and voltmeter.
f. Connect the positive (+) lead from the voltmeter to terminal 13 and negative (-) lead to terminal 14.
g. Apply battery positive voltage to terminals 9 and 10, then the table below while the mirror moves between the left most position and right-most position.
If continuity is not as specified, replace the switch.
INSPECT MIRROR POSITION SENSOR CIRCUIT