Curiosii for ever!: Car repair manuals for everyone.

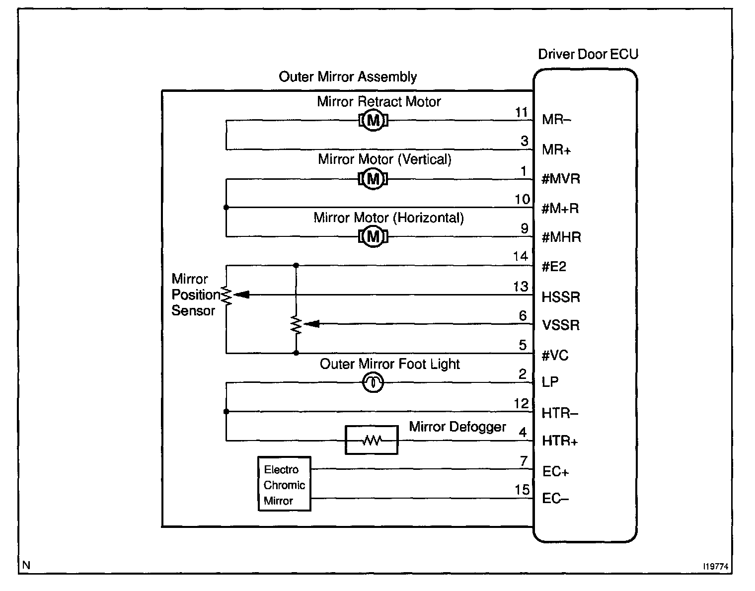
Retract Motor Circuit

CIRCUIT DESCRIPTION

The retract motor is built in the outer mirror assembly.




When the battery voltage is supplied to the terminal as follows, the outer mirror moves accordingly.

Wiring Diagram:






Steps 1 - 3:




INSPECTION PROCEDURE

HINT: In case of using the LEXUS hand-held tester, start the inspection from step 1 and in case of not using the LEXUS hand-held tester, start from step 2.