Curiosii for ever!
: Car repair manuals for everyone.
Home
>>
Lexus
>>
2001
>>
IS 300 L6-3.0L (2JZ-GE)
>>
Repair and Diagnosis
>>
Cruise Control
>>
Testing and Inspection
>>
Component Tests and General Diagnostics
>>
Control Switch Circuit (Cruise Control Switch)
Control Switch Circuit (Cruise Control Switch)
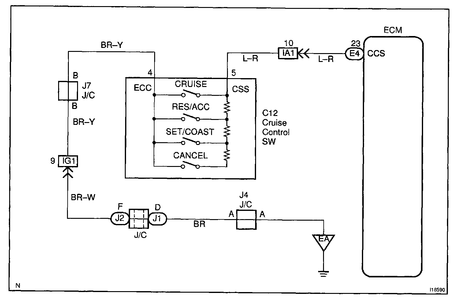
CIRCUIT DESCRIPTION
This circuit carries the SET/COAST, RESUME/ACCEL and CANCEL signal (each voltage) to the ECU.
Wiring Diagram:
Step 1:
Steps 2 - 3:
Steps 4 - 5:
INSPECTION PROCEDURE