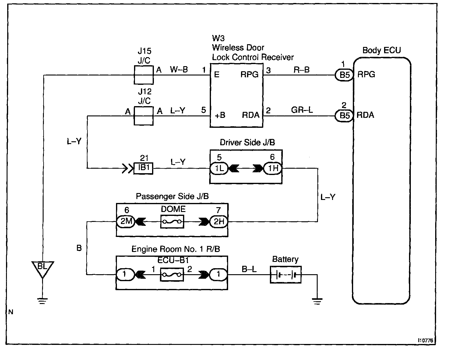
Wireless Door Lock Control Receiver Circuit
CIRCUIT DESCRIPTIONThe signal from the transmitter will be input to the body ECU through RDA line.RDA line is diagnosed by the Body ECU, so check DTC also in case of the failure of the wireless function.
Wiring Diagram:
Steps 1 - 3:
INSPECTION PROCEDURE