Curiosii for ever!: Car repair manuals for everyone.

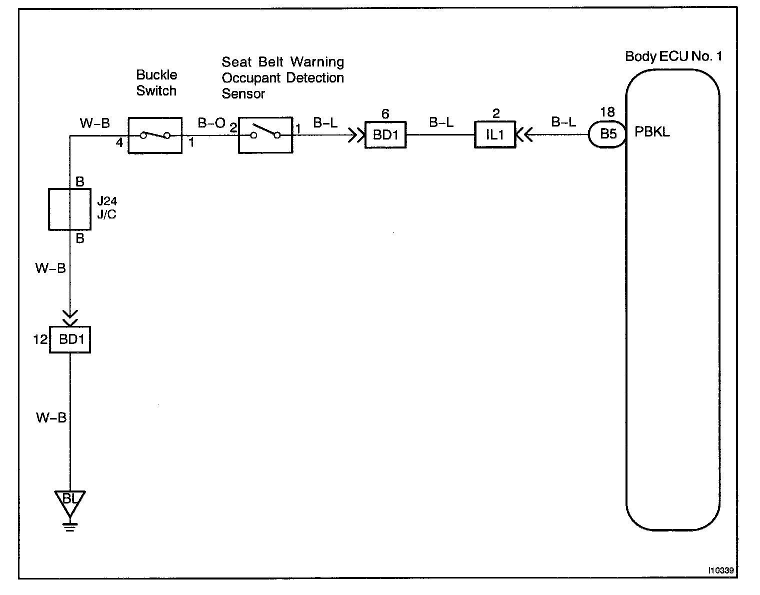
Buckle Switch/Seat Belt Warning Occupant Detection Sensor

Body No.1 Control System / Passenger Buckle Switch and Seat Belt Warning Occupant Detection Sensor

CIRCUIT DESCRIPTION
This circuit detects the conditions of the passenger buckle switch and the seat belt warning occupant detection sensor, and makes the passenger seat belt warning flash.

Wiring Diagram:






Steps 1 - 2:




Steps 3 - 4:




INSPECTION PROCEDURE

HINT: In case of using the LEXUS hand-held tester, start the inspection from step 1 and in case of not using the LEXUS hand-held tester, start from step 2.