Curiosii for ever!: Car repair manuals for everyone.

Ignition Switch: Testing and Inspection

INSPECTION







1. INSPECT IGNITION SWITCH CONTINUITY
If continuity is not as specified, replace the switch.







2. INSPECT IGNITION SWITCH CIRCUIT
Connect the switch connector and inspect the connector on the wire harness side from the back side.
If circuit is not as specified, inspect the switch and circuits connected to other parts.







3. INSPECT KEY UNLOCK WARNING SWITCH CONTINUITY
If continuity is not as specified, replace the switch.







4. INSPECT KEY UNLOCK WARNING SWITCH CIRCUIT
Connect the switch connector and inspect the connector on the wire harness side from the back side.
If circuit is not as specified, inspect the switch and circuits connected to other parts.




5. Key Unlock Warning System:
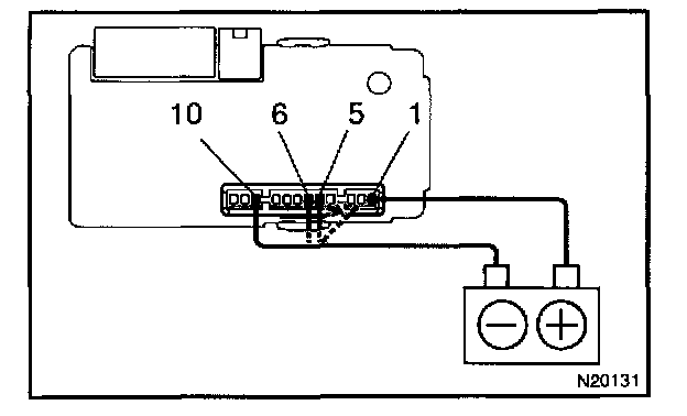
INSPECT INTEGRATION RELAY OPERATION
a. Connect the positive (+) lead from the battery to terminal 1.
b. Connect the negative (-) lead from the battery to terminals 5, 6 and 10.
c. Check the buzzer sounds.




d. Disconnect the negative (-) lead from the battery to terminal 6.
e. Check that the buzzer stops sounding.




f. Connect the negative (-) lead from the battery to terminal 6.
g. Disconnect the negative (-) lead from the battery to terminal 5.
h. Check that the buzzer stops sounding.
If operation is not as specified, replace the relay.







6. INSPECT INTEGRATION RELAY CIRCUIT
a. Remove the relay from the junction block No.1 and inspect the connector on the junction block side.




Part 1:




Part 2:




b. Disconnect the connector from the integration relay and inspect the connectors on the wire harness side.
If the circuit is as specified, try replacing the relay with a new one.
If the circuit is not as specified, inspect the circuits connected to other parts.