Curiosii for ever!: Car repair manuals for everyone.

System Relay: Testing and Inspection

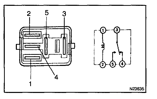
INSPECTION







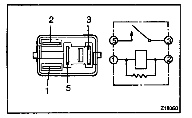
1. INSPECT HEATER MAIN RELAY (Marking: HTR RLY) CONTINUITY
If continuity is not as specified, replace the relay.







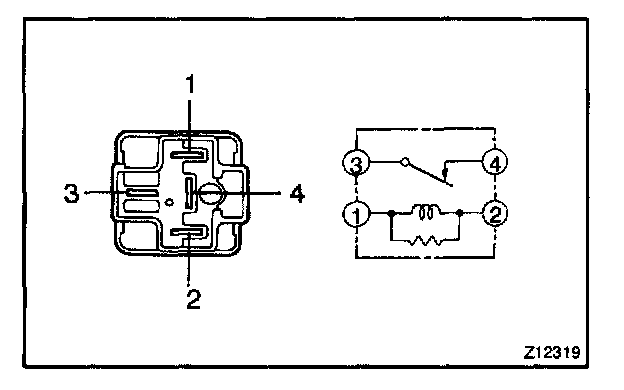
2. INSPECT MAGNETIC CLUTCH RELAY (Marking: MG CLT RLY) CONTINUITY
If continuity is not as specified, replace the relay.







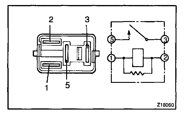
3. INSPECT No.1 COOLING FAN RELAY (Marking: FAN RLY NO.1) CONTINUITY
If continuity is not as specified, replace the relay.







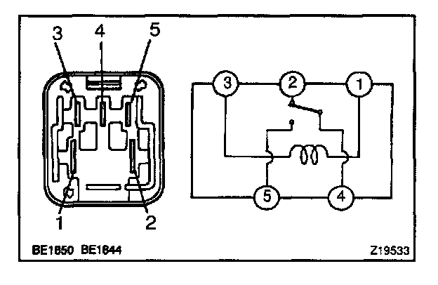
4. INSPECT No.2 COOLING FAN RELAY (Marking: FAN RLY NO.2) CONTINUITY
If continuity is not as specified, replace the relay







5. INSPECT No.3 COOLING FAN RELAY (Marking: FAN RLY NO.3) CONTINUITY
If continuity is not as specified, replace the relay.