Curiosii for ever!
: Car repair manuals for everyone.
Home
>>
Lexus
>>
2000
>>
SC 400 V8-4.0L (1UZ-FE)
>>
Repair and Diagnosis
>>
Brakes and Traction Control
>>
Relays and Modules - Brakes and Traction Control
>>
Electronic Brake Control Module
>>
Testing and Inspection
>>
Tc Terminal Circuit
>>
Antilock Brake (ABS) System
Antilock Brake (ABS) System
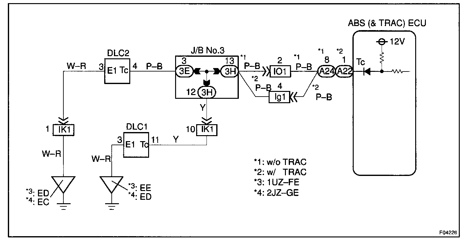
CIRCUIT DESCRIPTION
Connecting terminals Tc and E1 of the DLC1 or DLC2 causes the ECU to display the DTC by flashing the ABS warning light.
WIRING DIAGRAM
Step 1:
Step 2:
INSPECTION PROCEDURE