Curiosii for ever!: Car repair manuals for everyone.

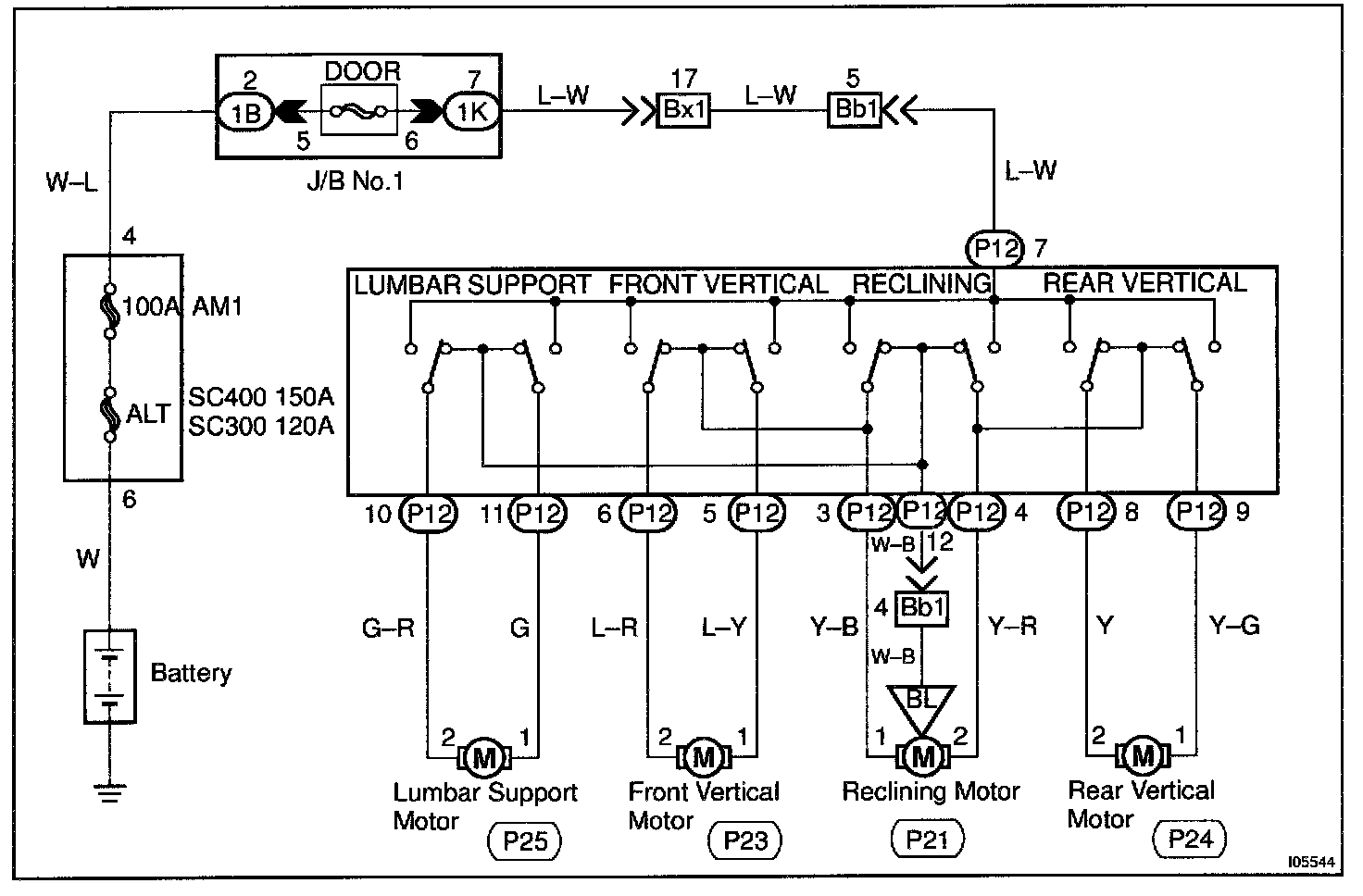
Reclining, Front Vertical, Rear Vertical Switch & Motor Circuit

CIRCUIT DESCRIPTION
When the reclining switch is turned to forward reclining, the seat back returns to upright.

When the reclining switch is turned to rear reclining, the seat back reclines.

When the front vertical switch is turned to upward, the front of the seat cushion moves upward.

When the front vertical switch is turned to downward, the front of the seat cushion moves downward.

When the rear vertical switch is turned to upward, the rear of the seat cushion moves upward.

When the rear vertical switch is turned to downward, the rear of the seat cushion moves downward.

Wiring Diagram:






Step 1 - 2:




Step 3 (Part 1 Of 2):




Step 3 (Part 1 Of 2):




INSPECTION PROCEDURE