Curiosii for ever!: Car repair manuals for everyone.

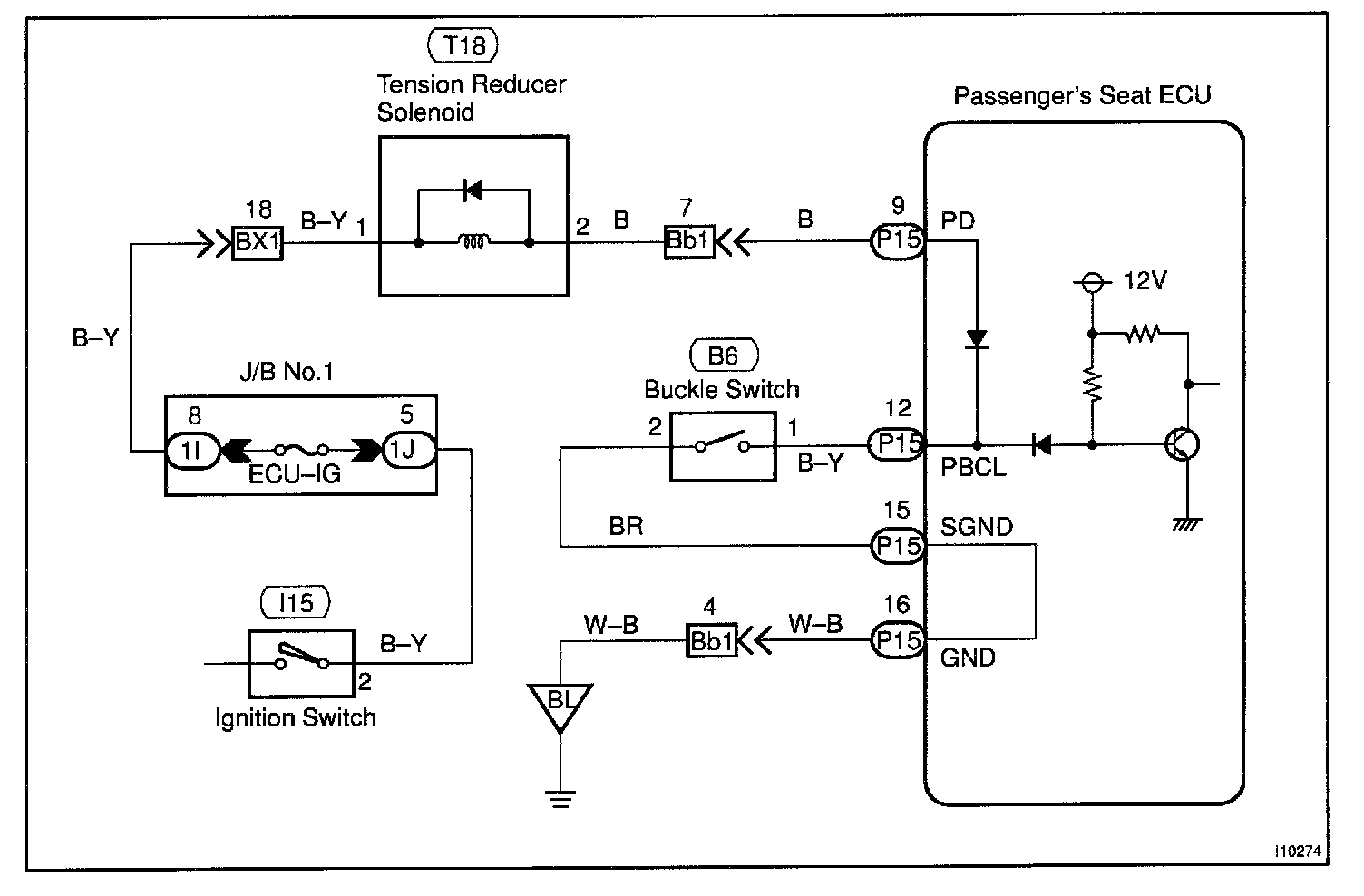
Buckle Switch Circuit

Passenger's Side

CIRCUIT DESCRIPTION
Buckle switch signal is sent to ECU when the passenger's seat belt is fastened.

When the signal is input to ECU, ECU prohibits operation of the power walk-in.

Wiring Diagram:






Step 1 - 2:




Step 3:




INSPECTION PROCEDURE