Curiosii for ever!: Car repair manuals for everyone.

Component Tests and General Diagnostics

Power Mirror Control System





1. INSPECT MIRROR SWITCH CONTINUITY

Rear view adjustment switch:




Left side:




Right side / Left/Right select switch:





If continuity is not as specified, replace the switch.





2. w/ Driving position memory: INSPECT MIRROR MOTOR OPERATION
a. Connect the positive (+) lead from the battery to terminal 12 and negative (-) lead to terminal 13, then check that the mirror turns to left side.
b. Reverse the polarity and check that the mirror turns to right side.





c. Connect the positive (+) lead from the battery to terminal 3 and negative (-) lead to terminal 13, then check that the mirror turns upward.
d. Reverse the polarity and check that the mirror turns downward.

If operation is not as specified, replace the mirror assembly.





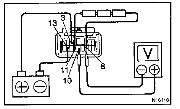
3. INSPECT MIRROR POSITION SENSORS

HINT: Strip off the vinyl tape of the connector and remove terminals 3, 8, 10, 11 and 13 from the connector housing.

a. Connect a series of three 1.5 V dry cell batteries.
b. Connect the positive (+) lead from the dry cell batteries to terminal 11 and the negative (-) lead to terminal 8.
c. Connect the positive (+) lead from the voltmeter to terminal 10 and the negative (-) lead to terminal 8.








d. Apply battery positive voltage to terminals 3 and 13, then check that the voltage gradually changes according to the table below while the mirror moves between the uppermost position and lowermost position.

If voltage value is not as specified, replace the motor assembly.











e. Disconnect the 2 leads of the battery and voltmeter.
f. Connect the positive (+) lead from the voltmeter to terminal 9 and negative (-) lead to terminal 8.
g. Apply battery positive voltage to terminals 12 and 13, then inspect that the voltage gradually changes according to the table below while the mirror moves between the left most position and right most position.

If voltage value is not as specified, replace the motor assembly.








4. Wire Harness Side: INSPECT MIRROR ECU CIRCUIT
Disconnect the connectors from the ECU and inspect the connector on the wire harness side, as shown in the chart below.








If circuit is not as specified, inspect the wire harness and mirror switch or motor assembly.

6. Connector Connected: INSPECT MIRROR ECU OPERATION
Connect the connectors and using a voltmeter with high impedance (10 k Ohm/V minimum), measure the voltage at each terminal and body ground.
If operation is not as specified, inspect the wire harness and mirror switch or motor assembly. Then it these are correct, replace the ECU.