Curiosii for ever!: Car repair manuals for everyone.

Taiwan


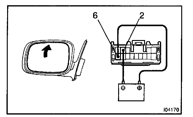
Power Mirror Control System














1. TAIWAN model: INSPECT MIRROR SWITCH CONTINUITY
Measure resistance between terminals 7 and 9.
If continuity is not as specified, replace the switch.

2. TAIWAN model: INSPECT RETRACT SWITCH CONTINUITY
If continuity is not as specified, replace the switch.

3. TAIWAN model: INSPECT MIRROR SWITCH CIRCUIT





3. W/ Driving position memory: INSPECT MIRROR MOTOR OPERATION
a. Connect the positive (+) lead from the battery to terminal 1 and the negative (-) lead to terminal 2, and check that the mirror turns to the left side.





b. Reverse the polarity, and check that the mirror turns to the right side.





c. Connect the positive (+) lead from the battery to terminal 6 and the negative (-) lead to terminal 2, and check that the mirror turns upward.





d. Reverse the polarity, and check that the mirror turns downward.

If operation is not as specified, replace the mirror assembly.

4. W/ Driving position memory: INSPECT MIRROR MOTOR CIRCUIT





5. W/ Driving position memory only: INSPECT MIRROR POSITION SENSORS OPERATION

HINT: Strip off the vinyl tape of the connector and remove terminals 1,2,6,8,9, 10 and 11 from the connector housing.

a. Connect a series of three 1.5 V dry cell batteries.
b. Connect the positive (+) lead from the dry cell batteries to terminal 8 and the negative (-) lead to terminal 11.
c. Connect the positive (+) lead from the voltmeter to terminal 9 and the negative (-) lead to terminal 11.








d. Apply battery positive voltage to terminals 2 and 6, then check that the voltage gradually changes according to the table below while the mirror moves between the uppermost position and lowermost position.

If voltage value is not as specified, replace the motor assembly.








e. Disconnect the 4 leads of the battery and voltmeter.
f. Connect the positive (+) lead from the voltmeter to terminal 10 and negative (-) lead to terminal 11.
g. Apply battery positive voltage to terminals 1 and 2, then inspect that the voltage gradually changes according to the table below while the mirror moves between the left- most position and right-most position.





If voltage value is not as specified, replace the motor assembly.

6. W/ Driving position memory only: INSPECT MIRROR POSITION SENSORS CIRCUIT
Left side:
Right side








7. INSPECT DRIVING POSITION MEMORY AND RETURN SWITCH CONTINUITY
If continuity is not as specified, replace the switch.

8. INSPECT DRIVING POSITION MEMORY AND RETURN SWITCH CIRCUIT





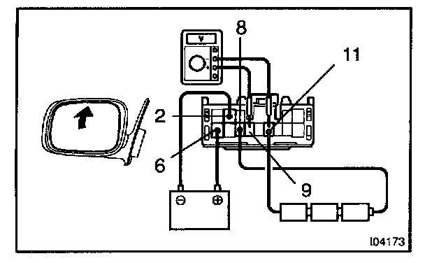
9. TAIWAN models: INSPECT ELECTRICAL RETRACT MOTOR OPERATION
a. When folded front position:
1. Connect the positive (+) lead from the battery to terminal 1 and negative (-) lead to terminal 2, check that the mirror operates at retract position.
2. Reverse the polarity, check that the mirror does not operate.
If operation is not as specified, replace the mirror assembly.

b. Between folded front position and driving position:
1. Connect the positive (+) lead from the battery to terminal 1 and negative (-) lead to terminal 2, check that the mirror operates at retract position.
2. Reverse the polarity, check that the mirror operate at folded front position.

If operation is not as specified, replace the mirror assembly.

c. When driving position;
1. Connect the positive (+) lead from the battery to terminal 1 and negative (-) lead to terminal 2, check that the mirror operates at retract position.
2. Reverse the polarity, check that the mirror does not operate.
If operation is not as specified, replace the mirror assembly.

d. Between driving position and retract position:
1. Connect the positive (+) lead from the battery to terminal 1 and negative (-) lead to terminal 2, check that the mirror operates at retract position.
2. Reverse the polarity, check that the mirror operate at return position (Stopping at driving position).

If operation is not as specified, replace the mirror assembly.

e. When retract position:
1. Connect the positive (+) lead from the battery to terminal 1 and negative (-) lead to terminal 2, check that the mirror does not operates.
2. Reverse the polarity, check that the mirror operate at return position (Stopping at driving position).

If operation is not as specified, replace the mirror assembly.